Сигнализатор уровня для КНС и сточных вод ОВЕН ПСУ-1
Подвесной сигнализатор уровня ПСУ-1 предназначен для управления наполнением/опорожнением резервуаров с водой и другими неагрессивными к материалу ПСУ жидкостями, в том числе содержащими твердые включения. ПСУ-1 применяется в качестве датчика уровня канализации и сточных вод как промышленных, так и коммунальных.
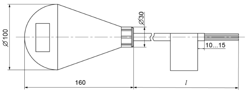
Датчики выпускаются с неопреновым кабелем длиной 5, 10 и 20 м в зависимости от исполнения.
Принцип действия
Подвесные сигнализаторы уровня крепятся на прочном гибком кабеле и содержат герметично закрытый микропереключатель.
Во время погружения ПСУ-1 в жидкость его корпус отклоняется, что вызывает срабатывание микропереключателя. Микропереключатель замыкает/размыкает электрическую цепь, таким образом включается/останавливается исполнительный механизм (насос, вентиль и др.).
Технические характеристики
| Параметр | Значение |
| Количество измеряемых уровней | 1 |
| Диапазон коммутируемого напряжения | ~150…250 В |
| Коммутируемый ток | ≤ 10 A |
| Максимальная коммутируемая мощность | 2 кВт |
| Угол включения/выключения | 50(±10)° |
| Степень защиты по ГОСТ 14254 | IP68 |
| Класс защиты от поражения электрическим током по ГОСТ IEC60335-1 | II |
| Электрическая прочность изоляции (вход-корпус) | 3000 В |
| Сопротивление изоляции (вход-корпус) | ≥ 20 МОм |
| Материал корпуса | полипропилен |
| Материал кабеля | неопрен |
| Диаметр наружной оболочки соединительного кабеля | 6,5 мм |
| Сечение соединительных проводов | 1 мм² |
| Диаметр поплавка | 100 мм |
| Толщина стенок корпуса | 3,8 мм |
| Длина кабеля | 5...20 м |
| Условия эксплуатации - температура рабочей среды - давление рабочей среды - плотность рабочей среды | 0…+70°С ≤ 0,4 МПа 950…1 050 кг/м3 |
| Средняя наработка на отказ | ≥ 50 000 срабатываний |
Все модификации
| Артикул | Модель | Длина провода, м | Срок поставки | Стоимость |
|---|---|---|---|---|
| O61516 | ПСУ-1/5 | 5 | Со склада | 3870 руб. |
| O61517 | ПСУ-1/10 | 10 | 1...2 недели | 4890 руб. |
| O61518 | ПСУ-1/20 | 20 | 1...2 недели | 6870 руб. |
| Габаритные размеры |
![]() |





