Поплавковый датчик уровня ОВЕН ПДУ-3Н.1
Поплавковые датчики уровня ОВЕН ПДУ-3Н.1 – устройства, предназначенные для сигнализации уровня жидкостей. ОВЕН ПДУ-3Н.1 применяются в составе систем контроля и регулирования жидкости (воды, растворов, светлых нефтепродуктов и иных жидких сред, в том числе и агрессивных, за исключением коррозионно-активных к материалу датчика) в различных резервуарах. ОВЕН ПДУ-3Н.1 применяются для измерения как текущего, так и предельного (максимального или минимального) уровня жидкости. Поплавковые датчики уровня имеют общепромышленные и взрывозащищенные исполнения.
Поплавковые датчики уровня ОВЕН устойчивы к пене и пузырькам и могут работать с вязкими жидкостями.
Для контроля уровня невязких жидкостей выпускаются датчики уровня с цилиндрическим поплавком ПДУ-3Н.1.
Для подключения к АСУ ТП датчики ОВЕН ПДУ снабжены силиконовым кабелем AWG 24 длиной от 1 метра до 120 метров, ОВЕН ПДУ-Н снабжены электрическим разъемом стандарта DIN 43650 A.
Особенности конструкции и монтажа датчиков уровня ОВЕН ПДУ
Датчик уровня имеет поплавок, передвигающийся по вертикальному штоку. Внутри поплавка находится постоянный магнит, а в штоке, представляющем собой полую трубку, находится геркон. Герконовый контакт срабатывает при приближении магнита. Если установка датчика сверху емкости невозможна, то поплавковый датчик уровня можно вмонтировать в стенку емкости или в дно.
| Варианты крепления датчика уровня ПДУ |
![]() |
Датчики ОВЕН ПДУ производятся с нормально-разомкнутым и нормально-замкнутым контактом.
| Варианты исполнения контактов ОВЕН ПДУ | |
![]() | ![]() |
| ПДУ с нормально-разомкнутым контактом | ПДУ с нормально-замкнутым контактом |
Повышение уровня жидкости в резервуаре приводит к перемещению поплавка вверх и замыканию/размыканию контакта датчика уровня.
Применение датчиков уровня ОВЕН ПДУ
Датчики ОВЕН ПДУ могут работать при температурах до +105°С в химически агрессивных средах. Материал датчика – нержавеющая сталь (12X18H10T).
ОВЕН ПДУ используются для контроля уровня сточных вод, химически агрессивных жидкостей или пищевых продуктов, в том числе вязких жидкостей. Поплавковые датчики могут применяться для контроля уровня жидкости в транспортных средствах, например, для контроля объема топлива в тяжелой технике: грузовиках, экскаваторах, тепловозах. Здесь датчики уровня работают в условиях сильной вибрации и волнения на поверхности жидкости. Для устранения влияния этих факторов поплавковый датчик помещают в специальную демпферную трубу, диаметром чуть больше, чем диаметр поплавка.
Следует помнить, что датчики уровня поплавкового типа не подходят для измерения липких и засыхающих жидкостей, жидкостей с механическими включениями, а также в случае замерзания жидкости.
Технические характеристики
| Параметр | Значение |
| Электрические параметры | |
| Количество сигнализируемых уровней* | 1 |
| Максимальная коммутируемая мощность | 20 Вт |
| Максимальный коммутируемый ток | 2 А |
| Максимальное коммутируемое напряжение | 230 В |
| Количество срабатываний при напряжении коммутации постоянного тока 24 В и токе 0,25 А | 1×106 |
| Конструктивные параметры | |
| Расположение оси крепежного отверстия датчика в резервуаре | Вертикальное (наружный монтаж) |
| Присоединение к процессу | Резьбовое G2"-A CLAMP C65, CL80, CL100 |
| Максимальная длина штока до нижнего уровня L | 3000 мм |
| Нормальное состояние контактов датчика | |
| Для ПДУ-2.2 | Нормально-разомкнутое |
| Материал рабочей части датчика: арматура поплавок | Сталь 12Х18Н10Т AISI 316L |
| Степень защиты по ГОСТ 14254 | IP68 для погружной (рабочей) части датчика IP65 для внешней части датчика (от плоскости присоединения к процессу) |
| Минимальная длина кабельного вывода | 1 м** |
* – Зависит от исполнения.
** – Длина кабельного вывода определяется при заказе.
Возможно изготовление модификаций поплавковых датчиков уровня ОВЕН ПДУ с взрывозащитой типа «искробезопасная цепь» 0Ex ia IIC T4 Х.
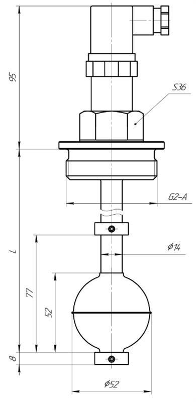
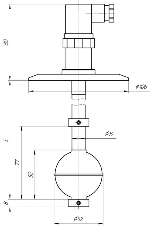
| Габаритные размеры | |
| ПДУ-3Н.1 (G2-A) | ПДУ-3Н.1 (CL65) |
![]() | ![]() |
| ПДУ-3Н.1 (CL80) | ПДУ-3Н.1 (CL100) |
![]() | ![]() |
Обозначение при заказе
| Одноуровневые поплавковые датчики уровня ОВЕН ПДУ |
![]() |













