Поплавковый датчик уровня ОВЕН ПДУ-2Н.2
Поплавковые датчики уровня ОВЕН ПДУ-2Н.2 – устройства, предназначенные для сигнализации уровня жидкостей. ОВЕН ПДУ-2Н.2 применяются в составе систем контроля и регулирования жидкости (воды, растворов, светлых нефтепродуктов и иных жидких сред, в том числе и агрессивных, за исключением коррозионно-активных к материалу датчика) в различных резервуарах. ОВЕН ПДУ-2Н.2 применяются для измерения как текущего, так и предельного (максимального или минимального) уровня жидкости. Поплавковые датчики уровня имеют общепромышленные и взрывозащищенные исполнения.
Поплавковые датчики уровня ОВЕН устойчивы к пене и пузырькам и могут работать с вязкими жидкостями.
Для контроля уровня невязких жидкостей выпускаются датчики уровня с цилиндрическим поплавком ПДУ-2Н.2.
Для подключения к АСУ ТП датчики ОВЕН ПДУ снабжены силиконовым кабелем AWG 24 длиной от 1 метра до 120 метров, ОВЕН ПДУ-Н снабжены электрическим разъемом стандарта DIN 43650 A.
Особенности конструкции и монтажа датчиков уровня ОВЕН ПДУ
Датчик уровня имеет поплавок, передвигающийся по вертикальному штоку. Внутри поплавка находится постоянный магнит, а в штоке, представляющем собой полую трубку, находится геркон. Герконовый контакт срабатывает при приближении магнита. Если установка датчика сверху емкости невозможна, то поплавковый датчик уровня можно вмонтировать в стенку емкости или в дно.
| Варианты крепления датчика уровня ПДУ |
![]() |
Датчики ОВЕН ПДУ производятся с нормально-разомкнутым и нормально-замкнутым контактом.
| Варианты исполнения контактов ОВЕН ПДУ | |
![]() | ![]() |
| ПДУ с нормально-разомкнутым контактом | ПДУ с нормально-замкнутым контактом |
Повышение уровня жидкости в резервуаре приводит к перемещению поплавка вверх и замыканию/размыканию контакта датчика уровня.
Применение датчиков уровня ОВЕН ПДУ
Датчики ОВЕН ПДУ могут работать при температурах до +105 °С в химически агрессивных средах. Материал датчика – нержавеющая сталь (12X18H10T).
ОВЕН ПДУ используются для контроля уровня сточных вод, химически агрессивных жидкостей или пищевых продуктов, в том числе вязких жидкостей. Поплавковые датчики могут применяться для контроля уровня жидкости в транспортных средствах, например, для контроля объема топлива в тяжелой технике: грузовиках, экскаваторах, тепловозах. Здесь датчики уровня работают в условиях сильной вибрации и волнения на поверхности жидкости. Для устранения влияния этих факторов поплавковый датчик помещают в специальную демпферную трубу, диаметром чуть больше, чем диаметр поплавка.
Следует помнить, что датчики уровня поплавкового типа не подходят для измерения липких и засыхающих жидкостей, жидкостей с механическими включениями, а также в случае замерзания жидкости.
Технические характеристики
| Параметр | Значение |
| Электрические параметры | |
| Количество сигнализируемых уровней* | 2 |
| Максимальная коммутируемая мощность | 10 Вт |
| Максимальный коммутируемый ток | 0,5 А |
| Максимальное коммутируемое напряжение | 180 В |
| Количество срабатываний при напряжении коммутации постоянного тока 24 В и токе 0,25 А | 1×106 |
| Конструктивные параметры | |
| Расположение оси крепежного отверстия датчика в резервуаре | Вертикальное (наружный монтаж) |
| Присоединение к процессу | Резьбовое G1"-A CLAMP C40 |
| Максимальная длина штока до нижнего уровня L | 2500 мм |
| Нормальное состояние контактов датчика | |
| Для ПДУ-2.2 | Нормально-разомкнутое |
| Материал рабочей части датчика: арматура поплавок | Сталь 12Х18Н10Т AISI 316L |
| Степень защиты по ГОСТ 14254 | IP68 для погружной (рабочей) части датчика IP65 для внешней части датчика (от плоскости присоединения к процессу) |
| Минимальная длина кабельного вывода | 1 м** |
* – Зависит от исполнения.
** – Длина кабельного вывода определяется при заказе.
Возможно изготовление модификаций поплавковых датчиков уровня ОВЕН ПДУ с взрывозащитой типа «искробезопасная цепь» 0Ex ia IIC T4 Х.
Все модификации
| Артикул | Длина штока до нижнего уровня, мм | Логика работы контакта нижнего уровня | Длина штока до верхнего уровня, мм | Логика работы контакта верхнего уровня | Присоединение | Срок поставки | Стоимость |
|---|---|---|---|---|---|---|---|
| R17900 | 100 | НО | 50 | НО | G1 | 2...4 недели | 3629 руб. |
| R17901 | 150 | НО | 50 | НО | G1 | 2...4 недели | 3629 руб. |
| R17902 | 200 | НО | 50 | НО | G1 | 2...4 недели | 3629 руб. |
| R17903 | 250 | НО | 50 | НО | G1 | 2...4 недели | 3629 руб. |
| R17904 | 300 | НО | 50 | НО | G1 | 2...4 недели | По запросу |
| R17905 | 400 | НО | 50 | НО | G1 | 2...4 недели | 3629 руб. |
| R17906 | 1600 | НО | 50 | НО | G1 | 2...4 недели | По запросу |
| R17907 | 900 | НО | 50 | НО | G1 | 2...4 недели | По запросу |
| R17908 | 600 | НО | 50 | НО | G1 | 2...4 недели | По запросу |
| R17909 | 500 | НО | 50 | НО | G1 | 2...4 недели | По запросу |
| R17910 | 100 | НЗ | 50 | НО | G1 | 2...4 недели | По запросу |
| R17911 | 150 | НЗ | 50 | НО | G1 | 2...4 недели | 3629 руб. |
| R17912 | 200 | НЗ | 50 | НО | G1 | 2...4 недели | По запросу |
| R17913 | 250 | НЗ | 50 | НО | G1 | 2...4 недели | По запросу |
| R17914 | 300 | НЗ | 50 | НО | G1 | 2...4 недели | По запросу |
| R17915 | 400 | НЗ | 50 | НО | G1 | 2...4 недели | По запросу |
| R17916 | 1600 | НЗ | 50 | НО | G1 | 2...4 недели | По запросу |
| R17917 | 900 | НЗ | 50 | НО | G1 | 2...4 недели | По запросу |
| R17918 | 600 | НЗ | 50 | НО | G1 | 2...4 недели | По запросу |
| R17919 | 500 | НЗ | 50 | НО | G1 | 2...4 недели | По запросу |
| R17920 | 100 | НО | 100 | НО | G1 | 2...4 недели | По запросу |
| R17921 | 150 | НО | 100 | НО | G1 | 2...4 недели | 3629 руб. |
| R17922 | 200 | НО | 100 | НО | G1 | 2...4 недели | 3629 руб. |
| R17923 | 250 | НО | 100 | НО | G1 | 2...4 недели | 3629 руб. |
| R17924 | 300 | НО | 100 | НО | G1 | 2...4 недели | 3629 руб. |
| R17925 | 400 | НО | 100 | НО | G1 | 2...4 недели | 3629 руб. |
| R17926 | 1600 | НО | 100 | НО | G1 | 2...4 недели | 3629 руб. |
| R17927 | 900 | НО | 100 | НО | G1 | 2...4 недели | 4082 руб. |
| R17928 | 600 | НО | 100 | НО | G1 | 2...4 недели | 4082 руб. |
| R17929 | 500 | НО | 100 | НО | G1 | 2...4 недели | 4687 руб. |
| R17930 | 100 | НЗ | 100 | НО | G1 | 2...4 недели | По запросу |
| R17931 | 150 | НЗ | 100 | НО | G1 | 2...4 недели | 3629 руб. |
| R17932 | 200 | НЗ | 100 | НО | G1 | 2...4 недели | 3629 руб. |
| R17933 | 250 | НЗ | 100 | НО | G1 | 2...4 недели | 3629 руб. |
| R17934 | 300 | НЗ | 100 | НО | G1 | 2...4 недели | 3629 руб. |
| R17935 | 400 | НЗ | 100 | НО | G1 | 2...4 недели | По запросу |
| R17936 | 1600 | НЗ | 100 | НО | G1 | 2...4 недели | По запросу |
| R17937 | 900 | НЗ | 100 | НО | G1 | 2...4 недели | По запросу |
| R17938 | 600 | НЗ | 100 | НО | G1 | 2...4 недели | По запросу |
| R17939 | 500 | НЗ | 100 | НО | G1 | 2...4 недели | По запросу |
| R17940 | 100 | НО | 150 | НО | G1 | 2...4 недели | По запросу |
| R17941 | 150 | НО | 150 | НО | G1 | 2...4 недели | По запросу |
| R17942 | 200 | НО | 150 | НО | G1 | 2...4 недели | 3629 руб. |
| R17943 | 250 | НО | 150 | НО | G1 | 2...4 недели | 3629 руб. |
| R17944 | 300 | НО | 150 | НО | G1 | 2...4 недели | 3629 руб. |
| R17945 | 400 | НО | 150 | НО | G1 | 2...4 недели | 3629 руб. |
| R17946 | 1600 | НО | 150 | НО | G1 | 2...4 недели | 3629 руб. |
| R17947 | 900 | НО | 150 | НО | G1 | 2...4 недели | 4082 руб. |
| R17948 | 600 | НО | 150 | НО | G1 | 2...4 недели | 4082 руб. |
| R17949 | 500 | НО | 150 | НО | G1 | 2...4 недели | 4688 руб. |
| R17950 | 100 | НЗ | 150 | НО | G1 | 2...4 недели | По запросу |
| R17951 | 150 | НЗ | 150 | НО | G1 | 2...4 недели | По запросу |
| R17952 | 200 | НЗ | 150 | НО | G1 | 2...4 недели | По запросу |
| R17953 | 250 | НЗ | 150 | НО | G1 | 2...4 недели | 3629 руб. |
| R17954 | 300 | НЗ | 150 | НО | G1 | 2...4 недели | 3629 руб. |
| R17955 | 400 | НЗ | 150 | НО | G1 | 2...4 недели | По запросу |
| R17956 | 1600 | НЗ | 150 | НО | G1 | 2...4 недели | По запросу |
| R17957 | 900 | НЗ | 150 | НО | G1 | 2...4 недели | По запросу |
| R17958 | 600 | НЗ | 150 | НО | G1 | 2...4 недели | По запросу |
| R17959 | 500 | НЗ | 150 | НО | G1 | 2...4 недели | По запросу |
| R17960 | 150 | НО | 200 | НО | G1 | 2...4 недели | По запросу |
| R17961 | 200 | НО | 200 | НО | G1 | 2...4 недели | По запросу |
| R17962 | 250 | НО | 200 | НО | G1 | 2...4 недели | 3629 руб. |
| R17963 | 300 | НО | 200 | НО | G1 | 2...4 недели | 3629 руб. |
| R17964 | 400 | НО | 200 | НО | G1 | 2...4 недели | 3629 руб. |
| R17965 | 1600 | НО | 200 | НО | G1 | 2...4 недели | 3629 руб. |
| R17966 | 900 | НО | 200 | НО | G1 | 2...4 недели | 4082 руб. |
| R17967 | 600 | НО | 200 | НО | G1 | 2...4 недели | 4082 руб. |
| R17968 | 500 | НО | 200 | НО | G1 | 2...4 недели | По запросу |
| R17969 | 150 | НЗ | 200 | НО | G1 | 2...4 недели | По запросу |
| R17970 | 200 | НЗ | 200 | НО | G1 | 2...4 недели | По запросу |
| R17971 | 250 | НЗ | 200 | НО | G1 | 2...4 недели | По запросу |
| R17972 | 300 | НЗ | 200 | НО | G1 | 2...4 недели | По запросу |
| R17973 | 400 | НЗ | 200 | НО | G1 | 2...4 недели | 3629 руб. |
| R17974 | 1600 | НЗ | 200 | НО | G1 | 2...4 недели | По запросу |
| R17975 | 900 | НЗ | 200 | НО | G1 | 2...4 недели | По запросу |
| R17976 | 600 | НЗ | 200 | НО | G1 | 2...4 недели | По запросу |
| R17977 | 500 | НЗ | 200 | НО | G1 | 2...4 недели | По запросу |
| R17978 | 200 | НО | 300 | НО | G1 | 2...4 недели | По запросу |
| R17979 | 250 | НО | 300 | НО | G1 | 2...4 недели | По запросу |
| R17980 | 300 | НО | 300 | НО | G1 | 2...4 недели | По запросу |
| R17981 | 400 | НО | 300 | НО | G1 | 2...4 недели | 3629 руб. |
| R17982 | 1600 | НО | 300 | НО | G1 | 2...4 недели | 3629 руб. |
| R17983 | 900 | НО | 300 | НО | G1 | 2...4 недели | 4082 руб. |
| R17984 | 600 | НО | 300 | НО | G1 | 2...4 недели | По запросу |
| R17985 | 500 | НО | 300 | НО | G1 | 2...4 недели | По запросу |
| R17986 | 200 | НЗ | 300 | НО | G1 | 2...4 недели | По запросу |
| R17987 | 250 | НЗ | 300 | НО | G1 | 2...4 недели | По запросу |
| R17988 | 300 | НЗ | 300 | НО | G1 | 2...4 недели | По запросу |
| R17989 | 400 | НЗ | 300 | НО | G1 | 2...4 недели | По запросу |
| R17990 | 1600 | НЗ | 300 | НО | G1 | 2...4 недели | 3629 руб. |
| R17991 | 900 | НЗ | 300 | НО | G1 | 2...4 недели | По запросу |
| R17992 | 600 | НЗ | 300 | НО | G1 | 2...4 недели | 3646 руб. |
| R17993 | 500 | НЗ | 300 | НО | G1 | 2...4 недели | По запросу |
| R17994 | 250 | НО | 400 | НО | G1 | 2...4 недели | По запросу |
| R17995 | 300 | НО | 400 | НО | G1 | 2...4 недели | По запросу |
| R17996 | 400 | НО | 400 | НО | G1 | 2...4 недели | По запросу |
| R17997 | 1600 | НО | 400 | НО | G1 | 2...4 недели | 3629 руб. |
| R17998 | 900 | НО | 400 | НО | G1 | 2...4 недели | 4082 руб. |
| R17999 | 600 | НО | 400 | НО | G1 | 2...4 недели | По запросу |
| R18000 | 500 | НО | 400 | НО | G1 | 2...4 недели | 4688 руб. |
| R18001 | 250 | НЗ | 400 | НО | G1 | 2...4 недели | По запросу |
| R18002 | 300 | НЗ | 400 | НО | G1 | 2...4 недели | По запросу |
| R18003 | 400 | НЗ | 400 | НО | G1 | 2...4 недели | По запросу |
| R18004 | 1600 | НЗ | 400 | НО | G1 | 2...4 недели | По запросу |
| R18005 | 900 | НЗ | 400 | НО | G1 | 2...4 недели | По запросу |
| R18006 | 600 | НЗ | 400 | НО | G1 | 2...4 недели | По запросу |
| R18007 | 500 | НЗ | 400 | НО | G1 | 2...4 недели | По запросу |
| R18008 | 100 | НО | 50 | НЗ | G1 | 2...4 недели | 3629 руб. |
| R18009 | 150 | НО | 50 | НЗ | G1 | 2...4 недели | По запросу |
| R18010 | 200 | НО | 50 | НЗ | G1 | 2...4 недели | 3629 руб. |
| R18011 | 250 | НО | 50 | НЗ | G1 | 2...4 недели | 3629 руб. |
| R18012 | 300 | НО | 50 | НЗ | G1 | 2...4 недели | 3629 руб. |
| R18013 | 400 | НО | 50 | НЗ | G1 | 2...4 недели | По запросу |
| R18014 | 1600 | НО | 50 | НЗ | G1 | 2...4 недели | По запросу |
| R18015 | 900 | НО | 50 | НЗ | G1 | 2...4 недели | По запросу |
| R18016 | 600 | НО | 50 | НЗ | G1 | 2...4 недели | По запросу |
| R18017 | 500 | НО | 50 | НЗ | G1 | 2...4 недели | По запросу |
| R18018 | 100 | НЗ | 50 | НЗ | G1 | 2...4 недели | 3629 руб. |
| R18019 | 150 | НЗ | 50 | НЗ | G1 | 2...4 недели | 3629 руб. |
| R18020 | 200 | НЗ | 50 | НЗ | G1 | 2...4 недели | 3629 руб. |
| R18021 | 250 | НЗ | 50 | НЗ | G1 | 2...4 недели | По запросу |
| R18022 | 300 | НЗ | 50 | НЗ | G1 | 2...4 недели | По запросу |
| R18023 | 400 | НЗ | 50 | НЗ | G1 | 2...4 недели | По запросу |
| R18024 | 1600 | НЗ | 50 | НЗ | G1 | 2...4 недели | По запросу |
| R18025 | 900 | НЗ | 50 | НЗ | G1 | 2...4 недели | По запросу |
| R18026 | 600 | НЗ | 50 | НЗ | G1 | 2...4 недели | По запросу |
| R18027 | 500 | НЗ | 50 | НЗ | G1 | 2...4 недели | По запросу |
| R18028 | 100 | НО | 100 | НЗ | G1 | 2...4 недели | По запросу |
| R18029 | 150 | НО | 100 | НЗ | G1 | 2...4 недели | 3629 руб. |
| R18030 | 200 | НО | 100 | НЗ | G1 | 2...4 недели | 3629 руб. |
| R18031 | 250 | НО | 100 | НЗ | G1 | 2...4 недели | 3629 руб. |
| R18032 | 300 | НО | 100 | НЗ | G1 | 2...4 недели | По запросу |
| R18033 | 400 | НО | 100 | НЗ | G1 | 2...4 недели | 3629 руб. |
| R18034 | 1600 | НО | 100 | НЗ | G1 | 2...4 недели | По запросу |
| R18035 | 900 | НО | 100 | НЗ | G1 | 2...4 недели | По запросу |
| R18036 | 600 | НО | 100 | НЗ | G1 | 2...4 недели | По запросу |
| R18037 | 500 | НО | 100 | НЗ | G1 | 2...4 недели | По запросу |
| R18038 | 100 | НЗ | 100 | НЗ | G1 | 2...4 недели | По запросу |
| R18039 | 150 | НЗ | 100 | НЗ | G1 | 2...4 недели | 3629 руб. |
| R18040 | 200 | НЗ | 100 | НЗ | G1 | 2...4 недели | 3629 руб. |
| R18041 | 250 | НЗ | 100 | НЗ | G1 | 2...4 недели | 3629 руб. |
| R18042 | 300 | НЗ | 100 | НЗ | G1 | 2...4 недели | 3629 руб. |
| R18043 | 400 | НЗ | 100 | НЗ | G1 | 2...4 недели | 3629 руб. |
| R18044 | 1600 | НЗ | 100 | НЗ | G1 | 2...4 недели | 3629 руб. |
| R18045 | 900 | НЗ | 100 | НЗ | G1 | 2...4 недели | По запросу |
| R18046 | 600 | НЗ | 100 | НЗ | G1 | 2...4 недели | 4083 руб. |
| R18047 | 500 | НЗ | 100 | НЗ | G1 | 2...4 недели | 4688 руб. |
| R18048 | 100 | НО | 150 | НЗ | G1 | 2...4 недели | По запросу |
| R18049 | 150 | НО | 150 | НЗ | G1 | 2...4 недели | По запросу |
| R18050 | 200 | НО | 150 | НЗ | G1 | 2...4 недели | По запросу |
| R18051 | 250 | НО | 150 | НЗ | G1 | 2...4 недели | 3629 руб. |
| R18052 | 300 | НО | 150 | НЗ | G1 | 2...4 недели | 3629 руб. |
| R18053 | 400 | НО | 150 | НЗ | G1 | 2...4 недели | По запросу |
| R18054 | 1600 | НО | 150 | НЗ | G1 | 2...4 недели | По запросу |
| R18055 | 900 | НО | 150 | НЗ | G1 | 2...4 недели | По запросу |
| R18056 | 600 | НО | 150 | НЗ | G1 | 2...4 недели | 4083 руб. |
| R18057 | 500 | НО | 150 | НЗ | G1 | 2...4 недели | 4688 руб. |
| R18058 | 100 | НЗ | 150 | НЗ | G1 | 2...4 недели | По запросу |
| R18059 | 150 | НЗ | 150 | НЗ | G1 | 2...4 недели | По запросу |
| R18060 | 200 | НЗ | 150 | НЗ | G1 | 2...4 недели | По запросу |
| R18061 | 250 | НЗ | 150 | НЗ | G1 | 2...4 недели | 3629 руб. |
| R18062 | 300 | НЗ | 150 | НЗ | G1 | 2...4 недели | По запросу |
| R18063 | 400 | НЗ | 150 | НЗ | G1 | 2...4 недели | По запросу |
| R18064 | 1600 | НЗ | 150 | НЗ | G1 | 2...4 недели | По запросу |
| R18065 | 900 | НЗ | 150 | НЗ | G1 | 2...4 недели | По запросу |
| R18066 | 600 | НЗ | 150 | НЗ | G1 | 2...4 недели | По запросу |
| R18067 | 500 | НЗ | 150 | НЗ | G1 | 2...4 недели | По запросу |
| R18068 | 150 | НО | 200 | НЗ | G1 | 2...4 недели | По запросу |
| R18069 | 200 | НО | 200 | НЗ | G1 | 2...4 недели | По запросу |
| R18070 | 250 | НО | 200 | НЗ | G1 | 2...4 недели | По запросу |
| R18071 | 300 | НО | 200 | НЗ | G1 | 2...4 недели | По запросу |
| R18072 | 400 | НО | 200 | НЗ | G1 | 2...4 недели | 3629 руб. |
| R18073 | 1600 | НО | 200 | НЗ | G1 | 2...4 недели | По запросу |
| R18074 | 900 | НО | 200 | НЗ | G1 | 2...4 недели | По запросу |
| R18075 | 600 | НО | 200 | НЗ | G1 | 2...4 недели | По запросу |
| R18076 | 500 | НО | 200 | НЗ | G1 | 2...4 недели | По запросу |
| R18077 | 150 | НЗ | 200 | НЗ | G1 | 2...4 недели | По запросу |
| R18078 | 200 | НЗ | 200 | НЗ | G1 | 2...4 недели | По запросу |
| R18079 | 250 | НЗ | 200 | НЗ | G1 | 2...4 недели | По запросу |
| R18080 | 300 | НЗ | 200 | НЗ | G1 | 2...4 недели | По запросу |
| R18081 | 400 | НЗ | 200 | НЗ | G1 | 2...4 недели | По запросу |
| R18082 | 1600 | НЗ | 200 | НЗ | G1 | 2...4 недели | По запросу |
| R18083 | 900 | НЗ | 200 | НЗ | G1 | 2...4 недели | 4083 руб. |
| R18084 | 600 | НЗ | 200 | НЗ | G1 | 2...4 недели | По запросу |
| R18085 | 500 | НЗ | 200 | НЗ | G1 | 2...4 недели | По запросу |
| R18086 | 200 | НО | 300 | НЗ | G1 | 2...4 недели | По запросу |
| R18087 | 250 | НО | 300 | НЗ | G1 | 2...4 недели | По запросу |
| R18088 | 300 | НО | 300 | НЗ | G1 | 2...4 недели | По запросу |
| R18089 | 400 | НО | 300 | НЗ | G1 | 2...4 недели | По запросу |
| R18090 | 1600 | НО | 300 | НЗ | G1 | 2...4 недели | По запросу |
| R18091 | 900 | НО | 300 | НЗ | G1 | 2...4 недели | По запросу |
| R18092 | 600 | НО | 300 | НЗ | G1 | 2...4 недели | По запросу |
| R18093 | 500 | НО | 300 | НЗ | G1 | 2...4 недели | По запросу |
| R18094 | 200 | НЗ | 300 | НЗ | G1 | 2...4 недели | По запросу |
| R18095 | 250 | НЗ | 300 | НЗ | G1 | 2...4 недели | По запросу |
| R18096 | 300 | НЗ | 300 | НЗ | G1 | 2...4 недели | По запросу |
| R18097 | 400 | НЗ | 300 | НЗ | G1 | 2...4 недели | По запросу |
| R18098 | 1600 | НЗ | 300 | НЗ | G1 | 2...4 недели | По запросу |
| R18099 | 900 | НЗ | 300 | НЗ | G1 | 2...4 недели | По запросу |
| R18100 | 600 | НЗ | 300 | НЗ | G1 | 2...4 недели | По запросу |
| R18101 | 500 | НЗ | 300 | НЗ | G1 | 2...4 недели | По запросу |
| R18102 | 250 | НО | 400 | НЗ | G1 | 2...4 недели | По запросу |
| R18103 | 300 | НО | 400 | НЗ | G1 | 2...4 недели | По запросу |
| R18104 | 400 | НО | 400 | НЗ | G1 | 2...4 недели | По запросу |
| R18105 | 1600 | НО | 400 | НЗ | G1 | 2...4 недели | По запросу |
| R18106 | 900 | НО | 400 | НЗ | G1 | 2...4 недели | По запросу |
| R18107 | 600 | НО | 400 | НЗ | G1 | 2...4 недели | По запросу |
| R18108 | 500 | НО | 400 | НЗ | G1 | 2...4 недели | 4688 руб. |
| R18109 | 250 | НЗ | 400 | НЗ | G1 | 2...4 недели | По запросу |
| R18110 | 300 | НЗ | 400 | НЗ | G1 | 2...4 недели | По запросу |
| R18111 | 400 | НЗ | 400 | НЗ | G1 | 2...4 недели | По запросу |
| R18112 | 1600 | НЗ | 400 | НЗ | G1 | 2...4 недели | 3629 руб. |
| R18113 | 900 | НЗ | 400 | НЗ | G1 | 2...4 недели | По запросу |
| R18114 | 600 | НЗ | 400 | НЗ | G1 | 2...4 недели | По запросу |
| R18115 | 500 | НЗ | 400 | НЗ | G1 | 2...4 недели | По запросу |
| R18116 | 100 | НО | 50 | НО | CL40 | 2...4 недели | 4161 руб. |
| R18117 | 150 | НО | 50 | НО | CL40 | 2...4 недели | 4161 руб. |
| R18118 | 200 | НО | 50 | НО | CL40 | 2...4 недели | 4161 руб. |
| R18119 | 250 | НО | 50 | НО | CL40 | 2...4 недели | По запросу |
| R18120 | 300 | НО | 50 | НО | CL40 | 2...4 недели | 4161 руб. |
| R18121 | 400 | НО | 50 | НО | CL40 | 2...4 недели | 4161 руб. |
| R18122 | 1600 | НО | 50 | НО | CL40 | 2...4 недели | 4161 руб. |
| R18123 | 900 | НО | 50 | НО | CL40 | 2...4 недели | По запросу |
| R18124 | 600 | НО | 50 | НО | CL40 | 2...4 недели | По запросу |
| R18125 | 500 | НО | 50 | НО | CL40 | 2...4 недели | По запросу |
| R18126 | 100 | НЗ | 50 | НО | CL40 | 2...4 недели | 4161 руб. |
| R18127 | 150 | НЗ | 50 | НО | CL40 | 2...4 недели | По запросу |
| R18128 | 200 | НЗ | 50 | НО | CL40 | 2...4 недели | По запросу |
| R18129 | 250 | НЗ | 50 | НО | CL40 | 2...4 недели | По запросу |
| R18130 | 300 | НЗ | 50 | НО | CL40 | 2...4 недели | По запросу |
| R18131 | 400 | НЗ | 50 | НО | CL40 | 2...4 недели | По запросу |
| R18132 | 1600 | НЗ | 50 | НО | CL40 | 2...4 недели | По запросу |
| R18133 | 900 | НЗ | 50 | НО | CL40 | 2...4 недели | По запросу |
| R18134 | 600 | НЗ | 50 | НО | CL40 | 2...4 недели | По запросу |
| R18135 | 500 | НЗ | 50 | НО | CL40 | 2...4 недели | По запросу |
| R18136 | 100 | НО | 100 | НО | CL40 | 2...4 недели | По запросу |
| R18137 | 150 | НО | 100 | НО | CL40 | 2...4 недели | 4161 руб. |
| R18138 | 200 | НО | 100 | НО | CL40 | 2...4 недели | По запросу |
| R18139 | 250 | НО | 100 | НО | CL40 | 2...4 недели | 4161 руб. |
| R18140 | 300 | НО | 100 | НО | CL40 | 2...4 недели | 4161 руб. |
| R18141 | 400 | НО | 100 | НО | CL40 | 2...4 недели | 4161 руб. |
| R18142 | 1600 | НО | 100 | НО | CL40 | 2...4 недели | 4161 руб. |
| R18143 | 900 | НО | 100 | НО | CL40 | 2...4 недели | По запросу |
| R18144 | 600 | НО | 100 | НО | CL40 | 2...4 недели | По запросу |
| R18145 | 500 | НО | 100 | НО | CL40 | 2...4 недели | По запросу |
| R18146 | 100 | НЗ | 100 | НО | CL40 | 2...4 недели | По запросу |
| R18147 | 150 | НЗ | 100 | НО | CL40 | 2...4 недели | По запросу |
| R18148 | 200 | НЗ | 100 | НО | CL40 | 2...4 недели | По запросу |
| R18149 | 250 | НЗ | 100 | НО | CL40 | 2...4 недели | По запросу |
| R18150 | 300 | НЗ | 100 | НО | CL40 | 2...4 недели | По запросу |
| R18151 | 400 | НЗ | 100 | НО | CL40 | 2...4 недели | По запросу |
| R18152 | 1600 | НЗ | 100 | НО | CL40 | 2...4 недели | По запросу |
| R18153 | 900 | НЗ | 100 | НО | CL40 | 2...4 недели | По запросу |
| R18154 | 600 | НЗ | 100 | НО | CL40 | 2...4 недели | По запросу |
| R18155 | 500 | НЗ | 100 | НО | CL40 | 2...4 недели | По запросу |
| R18156 | 100 | НО | 150 | НО | CL40 | 2...4 недели | По запросу |
| R18157 | 150 | НО | 150 | НО | CL40 | 2...4 недели | По запросу |
| R18158 | 200 | НО | 150 | НО | CL40 | 2...4 недели | 4161 руб. |
| R18159 | 250 | НО | 150 | НО | CL40 | 2...4 недели | По запросу |
| R18160 | 300 | НО | 150 | НО | CL40 | 2...4 недели | 4161 руб. |
| R18161 | 400 | НО | 150 | НО | CL40 | 2...4 недели | По запросу |
| R18162 | 1600 | НО | 150 | НО | CL40 | 2...4 недели | По запросу |
| R18163 | 900 | НО | 150 | НО | CL40 | 2...4 недели | По запросу |
| R18164 | 600 | НО | 150 | НО | CL40 | 2...4 недели | По запросу |
| R18165 | 500 | НО | 150 | НО | CL40 | 2...4 недели | По запросу |
| R18166 | 100 | НЗ | 150 | НО | CL40 | 2...4 недели | По запросу |
| R18167 | 150 | НЗ | 150 | НО | CL40 | 2...4 недели | По запросу |
| R18168 | 200 | НЗ | 150 | НО | CL40 | 2...4 недели | По запросу |
| R18169 | 250 | НЗ | 150 | НО | CL40 | 2...4 недели | 4161 руб. |
| R18170 | 300 | НЗ | 150 | НО | CL40 | 2...4 недели | По запросу |
| R18171 | 400 | НЗ | 150 | НО | CL40 | 2...4 недели | По запросу |
| R18172 | 1600 | НЗ | 150 | НО | CL40 | 2...4 недели | По запросу |
| R18173 | 900 | НЗ | 150 | НО | CL40 | 2...4 недели | По запросу |
| R18174 | 600 | НЗ | 150 | НО | CL40 | 2...4 недели | По запросу |
| R18175 | 500 | НЗ | 150 | НО | CL40 | 2...4 недели | По запросу |
| R18176 | 150 | НО | 200 | НО | CL40 | 2...4 недели | По запросу |
| R18177 | 200 | НО | 200 | НО | CL40 | 2...4 недели | По запросу |
| R18178 | 250 | НО | 200 | НО | CL40 | 2...4 недели | По запросу |
| R18179 | 300 | НО | 200 | НО | CL40 | 2...4 недели | 4161 руб. |
| R18180 | 400 | НО | 200 | НО | CL40 | 2...4 недели | По запросу |
| R18181 | 1600 | НО | 200 | НО | CL40 | 2...4 недели | 4161 руб. |
| R18182 | 900 | НО | 200 | НО | CL40 | 2...4 недели | По запросу |
| R18183 | 600 | НО | 200 | НО | CL40 | 2...4 недели | По запросу |
| R18184 | 500 | НО | 200 | НО | CL40 | 2...4 недели | По запросу |
| R18185 | 150 | НЗ | 200 | НО | CL40 | 2...4 недели | По запросу |
| R18186 | 200 | НЗ | 200 | НО | CL40 | 2...4 недели | По запросу |
| R18187 | 250 | НЗ | 200 | НО | CL40 | 2...4 недели | По запросу |
| R18188 | 300 | НЗ | 200 | НО | CL40 | 2...4 недели | По запросу |
| R18189 | 400 | НЗ | 200 | НО | CL40 | 2...4 недели | По запросу |
| R18190 | 1600 | НЗ | 200 | НО | CL40 | 2...4 недели | По запросу |
| R18191 | 900 | НЗ | 200 | НО | CL40 | 2...4 недели | По запросу |
| R18192 | 600 | НЗ | 200 | НО | CL40 | 2...4 недели | По запросу |
| R18193 | 500 | НЗ | 200 | НО | CL40 | 2...4 недели | По запросу |
| R18194 | 200 | НО | 300 | НО | CL40 | 2...4 недели | По запросу |
| R18195 | 250 | НО | 300 | НО | CL40 | 2...4 недели | По запросу |
| R18196 | 300 | НО | 300 | НО | CL40 | 2...4 недели | По запросу |
| R18197 | 400 | НО | 300 | НО | CL40 | 2...4 недели | По запросу |
| R18198 | 1600 | НО | 300 | НО | CL40 | 2...4 недели | 4161 руб. |
| R18199 | 900 | НО | 300 | НО | CL40 | 2...4 недели | 4615 руб. |
| R18200 | 600 | НО | 300 | НО | CL40 | 2...4 недели | По запросу |
| R18201 | 500 | НО | 300 | НО | CL40 | 2...4 недели | По запросу |
| R18202 | 200 | НЗ | 300 | НО | CL40 | 2...4 недели | По запросу |
| R18203 | 250 | НЗ | 300 | НО | CL40 | 2...4 недели | По запросу |
| R18204 | 300 | НЗ | 300 | НО | CL40 | 2...4 недели | По запросу |
| R18205 | 400 | НЗ | 300 | НО | CL40 | 2...4 недели | По запросу |
| R18206 | 1600 | НЗ | 300 | НО | CL40 | 2...4 недели | По запросу |
| R18207 | 900 | НЗ | 300 | НО | CL40 | 2...4 недели | По запросу |
| R18208 | 600 | НЗ | 300 | НО | CL40 | 2...4 недели | По запросу |
| R18209 | 500 | НЗ | 300 | НО | CL40 | 2...4 недели | По запросу |
| R18210 | 250 | НО | 400 | НО | CL40 | 2...4 недели | По запросу |
| R18211 | 300 | НО | 400 | НО | CL40 | 2...4 недели | По запросу |
| R18212 | 400 | НО | 400 | НО | CL40 | 2...4 недели | По запросу |
| R18213 | 1600 | НО | 400 | НО | CL40 | 2...4 недели | По запросу |
| R18214 | 900 | НО | 400 | НО | CL40 | 2...4 недели | По запросу |
| R18215 | 600 | НО | 400 | НО | CL40 | 2...4 недели | По запросу |
| R18216 | 500 | НО | 400 | НО | CL40 | 2...4 недели | По запросу |
| R18217 | 250 | НЗ | 400 | НО | CL40 | 2...4 недели | По запросу |
| R18218 | 300 | НЗ | 400 | НО | CL40 | 2...4 недели | По запросу |
| R18219 | 400 | НЗ | 400 | НО | CL40 | 2...4 недели | По запросу |
| R18220 | 1600 | НЗ | 400 | НО | CL40 | 2...4 недели | По запросу |
| R18221 | 900 | НЗ | 400 | НО | CL40 | 2...4 недели | По запросу |
| R18222 | 600 | НЗ | 400 | НО | CL40 | 2...4 недели | По запросу |
| R18223 | 500 | НЗ | 400 | НО | CL40 | 2...4 недели | По запросу |
| R18224 | 100 | НО | 50 | НЗ | CL40 | 2...4 недели | По запросу |
| R18225 | 150 | НО | 50 | НЗ | CL40 | 2...4 недели | 4161 руб. |
| R18226 | 200 | НО | 50 | НЗ | CL40 | 2...4 недели | 4161 руб. |
| R18227 | 250 | НО | 50 | НЗ | CL40 | 2...4 недели | По запросу |
| R18228 | 300 | НО | 50 | НЗ | CL40 | 2...4 недели | По запросу |
| R18229 | 400 | НО | 50 | НЗ | CL40 | 2...4 недели | По запросу |
| R18230 | 1600 | НО | 50 | НЗ | CL40 | 2...4 недели | По запросу |
| R18231 | 900 | НО | 50 | НЗ | CL40 | 2...4 недели | По запросу |
| R18232 | 600 | НО | 50 | НЗ | CL40 | 2...4 недели | По запросу |
| R18233 | 500 | НО | 50 | НЗ | CL40 | 2...4 недели | По запросу |
| R18234 | 100 | НЗ | 50 | НЗ | CL40 | 2...4 недели | По запросу |
| R18235 | 150 | НЗ | 50 | НЗ | CL40 | 2...4 недели | По запросу |
| R18236 | 200 | НЗ | 50 | НЗ | CL40 | 2...4 недели | По запросу |
| R18237 | 250 | НЗ | 50 | НЗ | CL40 | 2...4 недели | По запросу |
| R18238 | 300 | НЗ | 50 | НЗ | CL40 | 2...4 недели | По запросу |
| R18239 | 400 | НЗ | 50 | НЗ | CL40 | 2...4 недели | По запросу |
| R18240 | 1600 | НЗ | 50 | НЗ | CL40 | 2...4 недели | По запросу |
| R18241 | 900 | НЗ | 50 | НЗ | CL40 | 2...4 недели | По запросу |
| R18242 | 600 | НЗ | 50 | НЗ | CL40 | 2...4 недели | По запросу |
| R18243 | 500 | НЗ | 50 | НЗ | CL40 | 2...4 недели | По запросу |
| R18244 | 100 | НО | 100 | НЗ | CL40 | 2...4 недели | По запросу |
| R18245 | 150 | НО | 100 | НЗ | CL40 | 2...4 недели | По запросу |
| R18246 | 200 | НО | 100 | НЗ | CL40 | 2...4 недели | По запросу |
| R18247 | 250 | НО | 100 | НЗ | CL40 | 2...4 недели | По запросу |
| R18248 | 300 | НО | 100 | НЗ | CL40 | 2...4 недели | 4161 руб. |
| R18249 | 400 | НО | 100 | НЗ | CL40 | 2...4 недели | 4161 руб. |
| R18250 | 1600 | НО | 100 | НЗ | CL40 | 2...4 недели | По запросу |
| R18251 | 900 | НО | 100 | НЗ | CL40 | 2...4 недели | 4615 руб. |
| R18252 | 600 | НО | 100 | НЗ | CL40 | 2...4 недели | По запросу |
| R18253 | 500 | НО | 100 | НЗ | CL40 | 2...4 недели | По запросу |
| R18254 | 100 | НЗ | 100 | НЗ | CL40 | 2...4 недели | По запросу |
| R18255 | 150 | НЗ | 100 | НЗ | CL40 | 2...4 недели | По запросу |
| R18256 | 200 | НЗ | 100 | НЗ | CL40 | 2...4 недели | 4161 руб. |
| R18257 | 250 | НЗ | 100 | НЗ | CL40 | 2...4 недели | По запросу |
| R18258 | 300 | НЗ | 100 | НЗ | CL40 | 2...4 недели | 4161 руб. |
| R18259 | 400 | НЗ | 100 | НЗ | CL40 | 2...4 недели | По запросу |
| R18260 | 1600 | НЗ | 100 | НЗ | CL40 | 2...4 недели | По запросу |
| R18261 | 900 | НЗ | 100 | НЗ | CL40 | 2...4 недели | По запросу |
| R18262 | 600 | НЗ | 100 | НЗ | CL40 | 2...4 недели | 4614 руб. |
| R18263 | 500 | НЗ | 100 | НЗ | CL40 | 2...4 недели | По запросу |
| R18264 | 100 | НО | 150 | НЗ | CL40 | 2...4 недели | По запросу |
| R18265 | 150 | НО | 150 | НЗ | CL40 | 2...4 недели | По запросу |
| R18266 | 200 | НО | 150 | НЗ | CL40 | 2...4 недели | По запросу |
| R18267 | 250 | НО | 150 | НЗ | CL40 | 2...4 недели | По запросу |
| R18268 | 300 | НО | 150 | НЗ | CL40 | 2...4 недели | По запросу |
| R18269 | 400 | НО | 150 | НЗ | CL40 | 2...4 недели | По запросу |
| R18270 | 1600 | НО | 150 | НЗ | CL40 | 2...4 недели | По запросу |
| R18271 | 900 | НО | 150 | НЗ | CL40 | 2...4 недели | По запросу |
| R18272 | 600 | НО | 150 | НЗ | CL40 | 2...4 недели | По запросу |
| R18273 | 500 | НО | 150 | НЗ | CL40 | 2...4 недели | По запросу |
| R18274 | 100 | НЗ | 150 | НЗ | CL40 | 2...4 недели | По запросу |
| R18275 | 150 | НЗ | 150 | НЗ | CL40 | 2...4 недели | По запросу |
| R18276 | 200 | НЗ | 150 | НЗ | CL40 | 2...4 недели | По запросу |
| R18277 | 250 | НЗ | 150 | НЗ | CL40 | 2...4 недели | 4161 руб. |
| R18278 | 300 | НЗ | 150 | НЗ | CL40 | 2...4 недели | По запросу |
| R18279 | 400 | НЗ | 150 | НЗ | CL40 | 2...4 недели | По запросу |
| R18280 | 1600 | НЗ | 150 | НЗ | CL40 | 2...4 недели | По запросу |
| R18281 | 900 | НЗ | 150 | НЗ | CL40 | 2...4 недели | По запросу |
| R18282 | 600 | НЗ | 150 | НЗ | CL40 | 2...4 недели | По запросу |
| R18283 | 500 | НЗ | 150 | НЗ | CL40 | 2...4 недели | По запросу |
| R18284 | 150 | НО | 200 | НЗ | CL40 | 2...4 недели | По запросу |
| R18285 | 200 | НО | 200 | НЗ | CL40 | 2...4 недели | По запросу |
| R18286 | 250 | НО | 200 | НЗ | CL40 | 2...4 недели | По запросу |
| R18287 | 300 | НО | 200 | НЗ | CL40 | 2...4 недели | По запросу |
| R18288 | 400 | НО | 200 | НЗ | CL40 | 2...4 недели | По запросу |
| R18289 | 1600 | НО | 200 | НЗ | CL40 | 2...4 недели | По запросу |
| R18290 | 900 | НО | 200 | НЗ | CL40 | 2...4 недели | По запросу |
| R18291 | 600 | НО | 200 | НЗ | CL40 | 2...4 недели | По запросу |
| R18292 | 500 | НО | 200 | НЗ | CL40 | 2...4 недели | По запросу |
| R18293 | 150 | НЗ | 200 | НЗ | CL40 | 2...4 недели | По запросу |
| R18294 | 200 | НЗ | 200 | НЗ | CL40 | 2...4 недели | По запросу |
| R18295 | 250 | НЗ | 200 | НЗ | CL40 | 2...4 недели | По запросу |
| R18296 | 300 | НЗ | 200 | НЗ | CL40 | 2...4 недели | По запросу |
| R18297 | 400 | НЗ | 200 | НЗ | CL40 | 2...4 недели | По запросу |
| R18298 | 1600 | НЗ | 200 | НЗ | CL40 | 2...4 недели | По запросу |
| R18299 | 900 | НЗ | 200 | НЗ | CL40 | 2...4 недели | По запросу |
| R18300 | 600 | НЗ | 200 | НЗ | CL40 | 2...4 недели | По запросу |
| R18301 | 500 | НЗ | 200 | НЗ | CL40 | 2...4 недели | По запросу |
| R18302 | 200 | НО | 300 | НЗ | CL40 | 2...4 недели | По запросу |
| R18303 | 250 | НО | 300 | НЗ | CL40 | 2...4 недели | По запросу |
| R18304 | 300 | НО | 300 | НЗ | CL40 | 2...4 недели | По запросу |
| R18305 | 400 | НО | 300 | НЗ | CL40 | 2...4 недели | По запросу |
| R18306 | 1600 | НО | 300 | НЗ | CL40 | 2...4 недели | 4161 руб. |
| R18307 | 900 | НО | 300 | НЗ | CL40 | 2...4 недели | По запросу |
| R18308 | 600 | НО | 300 | НЗ | CL40 | 2...4 недели | По запросу |
| R18309 | 500 | НО | 300 | НЗ | CL40 | 2...4 недели | По запросу |
| R18310 | 200 | НЗ | 300 | НЗ | CL40 | 2...4 недели | По запросу |
| R18311 | 250 | НЗ | 300 | НЗ | CL40 | 2...4 недели | По запросу |
| R18312 | 300 | НЗ | 300 | НЗ | CL40 | 2...4 недели | По запросу |
| R18313 | 400 | НЗ | 300 | НЗ | CL40 | 2...4 недели | 4161 руб. |
| R18314 | 1600 | НЗ | 300 | НЗ | CL40 | 2...4 недели | По запросу |
| R18315 | 900 | НЗ | 300 | НЗ | CL40 | 2...4 недели | По запросу |
| R18316 | 600 | НЗ | 300 | НЗ | CL40 | 2...4 недели | По запросу |
| R18317 | 500 | НЗ | 300 | НЗ | CL40 | 2...4 недели | По запросу |
| R18318 | 250 | НО | 400 | НЗ | CL40 | 2...4 недели | По запросу |
| R18319 | 300 | НО | 400 | НЗ | CL40 | 2...4 недели | По запросу |
| R18320 | 400 | НО | 400 | НЗ | CL40 | 2...4 недели | По запросу |
| R18321 | 1600 | НО | 400 | НЗ | CL40 | 2...4 недели | По запросу |
| R18322 | 900 | НО | 400 | НЗ | CL40 | 2...4 недели | По запросу |
| R18323 | 600 | НО | 400 | НЗ | CL40 | 2...4 недели | По запросу |
| R18324 | 500 | НО | 400 | НЗ | CL40 | 2...4 недели | По запросу |
| R18325 | 250 | НЗ | 400 | НЗ | CL40 | 2...4 недели | По запросу |
| R18326 | 300 | НЗ | 400 | НЗ | CL40 | 2...4 недели | По запросу |
| R18327 | 400 | НЗ | 400 | НЗ | CL40 | 2...4 недели | По запросу |
| R18328 | 1600 | НЗ | 400 | НЗ | CL40 | 2...4 недели | По запросу |
| R18329 | 900 | НЗ | 400 | НЗ | CL40 | 2...4 недели | По запросу |
| R18330 | 600 | НЗ | 400 | НЗ | CL40 | 2...4 недели | По запросу |
| R18331 | 500 | НЗ | 400 | НЗ | CL40 | 2...4 недели | По запросу |
| R17900 | 100 | НО | 50 | НО | G1 | 2...4 недели | 3629 руб. |
| R17901 | 150 | НО | 50 | НО | G1 | 2...4 недели | 3629 руб. |
| R17902 | 200 | НО | 50 | НО | G1 | 2...4 недели | 3629 руб. |
| R17903 | 250 | НО | 50 | НО | G1 | 2...4 недели | 3629 руб. |
| R17904 | 300 | НО | 50 | НО | G1 | 2...4 недели | По запросу |
| R17905 | 400 | НО | 50 | НО | G1 | 2...4 недели | 3629 руб. |
| R17906 | 1600 | НО | 50 | НО | G1 | 2...4 недели | По запросу |
| R17907 | 900 | НО | 50 | НО | G1 | 2...4 недели | По запросу |
| R17908 | 600 | НО | 50 | НО | G1 | 2...4 недели | По запросу |
| R17909 | 500 | НО | 50 | НО | G1 | 2...4 недели | По запросу |
| R17910 | 100 | НЗ | 50 | НО | G1 | 2...4 недели | По запросу |
| R17911 | 150 | НЗ | 50 | НО | G1 | 2...4 недели | 3629 руб. |
| R17912 | 200 | НЗ | 50 | НО | G1 | 2...4 недели | По запросу |
| R17913 | 250 | НЗ | 50 | НО | G1 | 2...4 недели | По запросу |
| R17914 | 300 | НЗ | 50 | НО | G1 | 2...4 недели | По запросу |
| R17915 | 400 | НЗ | 50 | НО | G1 | 2...4 недели | По запросу |
| R17916 | 1600 | НЗ | 50 | НО | G1 | 2...4 недели | По запросу |
| R17917 | 900 | НЗ | 50 | НО | G1 | 2...4 недели | По запросу |
| R17918 | 600 | НЗ | 50 | НО | G1 | 2...4 недели | По запросу |
| R17919 | 500 | НЗ | 50 | НО | G1 | 2...4 недели | По запросу |
| R17920 | 100 | НО | 100 | НО | G1 | 2...4 недели | По запросу |
| R17921 | 150 | НО | 100 | НО | G1 | 2...4 недели | 3629 руб. |
| R17922 | 200 | НО | 100 | НО | G1 | 2...4 недели | 3629 руб. |
| R17923 | 250 | НО | 100 | НО | G1 | 2...4 недели | 3629 руб. |
| R17924 | 300 | НО | 100 | НО | G1 | 2...4 недели | 3629 руб. |
| R17925 | 400 | НО | 100 | НО | G1 | 2...4 недели | 3629 руб. |
| R17926 | 1600 | НО | 100 | НО | G1 | 2...4 недели | 3629 руб. |
| R17927 | 900 | НО | 100 | НО | G1 | 2...4 недели | 4082 руб. |
| R17928 | 600 | НО | 100 | НО | G1 | 2...4 недели | 4082 руб. |
| R17929 | 500 | НО | 100 | НО | G1 | 2...4 недели | 4687 руб. |
| R17930 | 100 | НЗ | 100 | НО | G1 | 2...4 недели | По запросу |
| R17931 | 150 | НЗ | 100 | НО | G1 | 2...4 недели | 3629 руб. |
| R17932 | 200 | НЗ | 100 | НО | G1 | 2...4 недели | 3629 руб. |
| R17933 | 250 | НЗ | 100 | НО | G1 | 2...4 недели | 3629 руб. |
| R17934 | 300 | НЗ | 100 | НО | G1 | 2...4 недели | 3629 руб. |
| R17935 | 400 | НЗ | 100 | НО | G1 | 2...4 недели | По запросу |
| R17936 | 1600 | НЗ | 100 | НО | G1 | 2...4 недели | По запросу |
| R17937 | 900 | НЗ | 100 | НО | G1 | 2...4 недели | По запросу |
| R17938 | 600 | НЗ | 100 | НО | G1 | 2...4 недели | По запросу |
| R17939 | 500 | НЗ | 100 | НО | G1 | 2...4 недели | По запросу |
| R17940 | 100 | НО | 150 | НО | G1 | 2...4 недели | По запросу |
| R17941 | 150 | НО | 150 | НО | G1 | 2...4 недели | По запросу |
| R17942 | 200 | НО | 150 | НО | G1 | 2...4 недели | 3629 руб. |
| R17943 | 250 | НО | 150 | НО | G1 | 2...4 недели | 3629 руб. |
| R17944 | 300 | НО | 150 | НО | G1 | 2...4 недели | 3629 руб. |
| R17945 | 400 | НО | 150 | НО | G1 | 2...4 недели | 3629 руб. |
| R17946 | 1600 | НО | 150 | НО | G1 | 2...4 недели | 3629 руб. |
| R17947 | 900 | НО | 150 | НО | G1 | 2...4 недели | 4082 руб. |
| R17948 | 600 | НО | 150 | НО | G1 | 2...4 недели | 4082 руб. |
| R17949 | 500 | НО | 150 | НО | G1 | 2...4 недели | 4688 руб. |
| R17950 | 100 | НЗ | 150 | НО | G1 | 2...4 недели | По запросу |
| R17951 | 150 | НЗ | 150 | НО | G1 | 2...4 недели | По запросу |
| R17952 | 200 | НЗ | 150 | НО | G1 | 2...4 недели | По запросу |
| R17953 | 250 | НЗ | 150 | НО | G1 | 2...4 недели | 3629 руб. |
| R17954 | 300 | НЗ | 150 | НО | G1 | 2...4 недели | 3629 руб. |
| R17955 | 400 | НЗ | 150 | НО | G1 | 2...4 недели | По запросу |
| R17956 | 1600 | НЗ | 150 | НО | G1 | 2...4 недели | По запросу |
| R17957 | 900 | НЗ | 150 | НО | G1 | 2...4 недели | По запросу |
| R17958 | 600 | НЗ | 150 | НО | G1 | 2...4 недели | По запросу |
| R17959 | 500 | НЗ | 150 | НО | G1 | 2...4 недели | По запросу |
| R17960 | 150 | НО | 200 | НО | G1 | 2...4 недели | По запросу |
| R17961 | 200 | НО | 200 | НО | G1 | 2...4 недели | По запросу |
| R17962 | 250 | НО | 200 | НО | G1 | 2...4 недели | 3629 руб. |
| R17963 | 300 | НО | 200 | НО | G1 | 2...4 недели | 3629 руб. |
| R17964 | 400 | НО | 200 | НО | G1 | 2...4 недели | 3629 руб. |
| R17965 | 1600 | НО | 200 | НО | G1 | 2...4 недели | 3629 руб. |
| R17966 | 900 | НО | 200 | НО | G1 | 2...4 недели | 4082 руб. |
| R17967 | 600 | НО | 200 | НО | G1 | 2...4 недели | 4082 руб. |
| R17968 | 500 | НО | 200 | НО | G1 | 2...4 недели | По запросу |
| R17969 | 150 | НЗ | 200 | НО | G1 | 2...4 недели | По запросу |
| R17970 | 200 | НЗ | 200 | НО | G1 | 2...4 недели | По запросу |
| R17971 | 250 | НЗ | 200 | НО | G1 | 2...4 недели | По запросу |
| R17972 | 300 | НЗ | 200 | НО | G1 | 2...4 недели | По запросу |
| R17973 | 400 | НЗ | 200 | НО | G1 | 2...4 недели | 3629 руб. |
| R17974 | 1600 | НЗ | 200 | НО | G1 | 2...4 недели | По запросу |
| R17975 | 900 | НЗ | 200 | НО | G1 | 2...4 недели | По запросу |
| R17976 | 600 | НЗ | 200 | НО | G1 | 2...4 недели | По запросу |
| R17977 | 500 | НЗ | 200 | НО | G1 | 2...4 недели | По запросу |
| R17978 | 200 | НО | 300 | НО | G1 | 2...4 недели | По запросу |
| R17979 | 250 | НО | 300 | НО | G1 | 2...4 недели | По запросу |
| R17980 | 300 | НО | 300 | НО | G1 | 2...4 недели | По запросу |
| R17981 | 400 | НО | 300 | НО | G1 | 2...4 недели | 3629 руб. |
| R17982 | 1600 | НО | 300 | НО | G1 | 2...4 недели | 3629 руб. |
| R17983 | 900 | НО | 300 | НО | G1 | 2...4 недели | 4082 руб. |
| R17984 | 600 | НО | 300 | НО | G1 | 2...4 недели | По запросу |
| R17985 | 500 | НО | 300 | НО | G1 | 2...4 недели | По запросу |
| R17986 | 200 | НЗ | 300 | НО | G1 | 2...4 недели | По запросу |
| R17987 | 250 | НЗ | 300 | НО | G1 | 2...4 недели | По запросу |
| R17988 | 300 | НЗ | 300 | НО | G1 | 2...4 недели | По запросу |
| R17989 | 400 | НЗ | 300 | НО | G1 | 2...4 недели | По запросу |
| R17990 | 1600 | НЗ | 300 | НО | G1 | 2...4 недели | 3629 руб. |
| R17991 | 900 | НЗ | 300 | НО | G1 | 2...4 недели | По запросу |
| R17992 | 600 | НЗ | 300 | НО | G1 | 2...4 недели | 3646 руб. |
| R17993 | 500 | НЗ | 300 | НО | G1 | 2...4 недели | По запросу |
| R17994 | 250 | НО | 400 | НО | G1 | 2...4 недели | По запросу |
| R17995 | 300 | НО | 400 | НО | G1 | 2...4 недели | По запросу |
| R17996 | 400 | НО | 400 | НО | G1 | 2...4 недели | По запросу |
| R17997 | 1600 | НО | 400 | НО | G1 | 2...4 недели | 3629 руб. |
| R17998 | 900 | НО | 400 | НО | G1 | 2...4 недели | 4082 руб. |
| R17999 | 600 | НО | 400 | НО | G1 | 2...4 недели | По запросу |
| R18000 | 500 | НО | 400 | НО | G1 | 2...4 недели | 4688 руб. |
| R18001 | 250 | НЗ | 400 | НО | G1 | 2...4 недели | По запросу |
| R18002 | 300 | НЗ | 400 | НО | G1 | 2...4 недели | По запросу |
| R18003 | 400 | НЗ | 400 | НО | G1 | 2...4 недели | По запросу |
| R18004 | 1600 | НЗ | 400 | НО | G1 | 2...4 недели | По запросу |
| R18005 | 900 | НЗ | 400 | НО | G1 | 2...4 недели | По запросу |
| R18006 | 600 | НЗ | 400 | НО | G1 | 2...4 недели | По запросу |
| R18007 | 500 | НЗ | 400 | НО | G1 | 2...4 недели | По запросу |
| R18008 | 100 | НО | 50 | НЗ | G1 | 2...4 недели | 3629 руб. |
| R18009 | 150 | НО | 50 | НЗ | G1 | 2...4 недели | По запросу |
| R18010 | 200 | НО | 50 | НЗ | G1 | 2...4 недели | 3629 руб. |
| R18011 | 250 | НО | 50 | НЗ | G1 | 2...4 недели | 3629 руб. |
| R18012 | 300 | НО | 50 | НЗ | G1 | 2...4 недели | 3629 руб. |
| R18013 | 400 | НО | 50 | НЗ | G1 | 2...4 недели | По запросу |
| R18014 | 1600 | НО | 50 | НЗ | G1 | 2...4 недели | По запросу |
| R18015 | 900 | НО | 50 | НЗ | G1 | 2...4 недели | По запросу |
| R18016 | 600 | НО | 50 | НЗ | G1 | 2...4 недели | По запросу |
| R18017 | 500 | НО | 50 | НЗ | G1 | 2...4 недели | По запросу |
| R18018 | 100 | НЗ | 50 | НЗ | G1 | 2...4 недели | 3629 руб. |
| R18019 | 150 | НЗ | 50 | НЗ | G1 | 2...4 недели | 3629 руб. |
| R18020 | 200 | НЗ | 50 | НЗ | G1 | 2...4 недели | 3629 руб. |
| R18021 | 250 | НЗ | 50 | НЗ | G1 | 2...4 недели | По запросу |
| R18022 | 300 | НЗ | 50 | НЗ | G1 | 2...4 недели | По запросу |
| R18023 | 400 | НЗ | 50 | НЗ | G1 | 2...4 недели | По запросу |
| R18024 | 1600 | НЗ | 50 | НЗ | G1 | 2...4 недели | По запросу |
| R18025 | 900 | НЗ | 50 | НЗ | G1 | 2...4 недели | По запросу |
| R18026 | 600 | НЗ | 50 | НЗ | G1 | 2...4 недели | По запросу |
| R18027 | 500 | НЗ | 50 | НЗ | G1 | 2...4 недели | По запросу |
| R18028 | 100 | НО | 100 | НЗ | G1 | 2...4 недели | По запросу |
| R18029 | 150 | НО | 100 | НЗ | G1 | 2...4 недели | 3629 руб. |
| R18030 | 200 | НО | 100 | НЗ | G1 | 2...4 недели | 3629 руб. |
| R18031 | 250 | НО | 100 | НЗ | G1 | 2...4 недели | 3629 руб. |
| R18032 | 300 | НО | 100 | НЗ | G1 | 2...4 недели | По запросу |
| R18033 | 400 | НО | 100 | НЗ | G1 | 2...4 недели | 3629 руб. |
| R18034 | 1600 | НО | 100 | НЗ | G1 | 2...4 недели | По запросу |
| R18035 | 900 | НО | 100 | НЗ | G1 | 2...4 недели | По запросу |
| R18036 | 600 | НО | 100 | НЗ | G1 | 2...4 недели | По запросу |
| R18037 | 500 | НО | 100 | НЗ | G1 | 2...4 недели | По запросу |
| R18038 | 100 | НЗ | 100 | НЗ | G1 | 2...4 недели | По запросу |
| R18039 | 150 | НЗ | 100 | НЗ | G1 | 2...4 недели | 3629 руб. |
| R18040 | 200 | НЗ | 100 | НЗ | G1 | 2...4 недели | 3629 руб. |
| R18041 | 250 | НЗ | 100 | НЗ | G1 | 2...4 недели | 3629 руб. |
| R18042 | 300 | НЗ | 100 | НЗ | G1 | 2...4 недели | 3629 руб. |
| R18043 | 400 | НЗ | 100 | НЗ | G1 | 2...4 недели | 3629 руб. |
| R18044 | 1600 | НЗ | 100 | НЗ | G1 | 2...4 недели | 3629 руб. |
| R18045 | 900 | НЗ | 100 | НЗ | G1 | 2...4 недели | По запросу |
| R18046 | 600 | НЗ | 100 | НЗ | G1 | 2...4 недели | 4083 руб. |
| R18047 | 500 | НЗ | 100 | НЗ | G1 | 2...4 недели | 4688 руб. |
| R18048 | 100 | НО | 150 | НЗ | G1 | 2...4 недели | По запросу |
| R18049 | 150 | НО | 150 | НЗ | G1 | 2...4 недели | По запросу |
| R18050 | 200 | НО | 150 | НЗ | G1 | 2...4 недели | По запросу |
| R18051 | 250 | НО | 150 | НЗ | G1 | 2...4 недели | 3629 руб. |
| R18052 | 300 | НО | 150 | НЗ | G1 | 2...4 недели | 3629 руб. |
| R18053 | 400 | НО | 150 | НЗ | G1 | 2...4 недели | По запросу |
| R18054 | 1600 | НО | 150 | НЗ | G1 | 2...4 недели | По запросу |
| R18055 | 900 | НО | 150 | НЗ | G1 | 2...4 недели | По запросу |
| R18056 | 600 | НО | 150 | НЗ | G1 | 2...4 недели | 4083 руб. |
| R18057 | 500 | НО | 150 | НЗ | G1 | 2...4 недели | 4688 руб. |
| R18058 | 100 | НЗ | 150 | НЗ | G1 | 2...4 недели | По запросу |
| R18059 | 150 | НЗ | 150 | НЗ | G1 | 2...4 недели | По запросу |
| R18060 | 200 | НЗ | 150 | НЗ | G1 | 2...4 недели | По запросу |
| R18061 | 250 | НЗ | 150 | НЗ | G1 | 2...4 недели | 3629 руб. |
| R18062 | 300 | НЗ | 150 | НЗ | G1 | 2...4 недели | По запросу |
| R18063 | 400 | НЗ | 150 | НЗ | G1 | 2...4 недели | По запросу |
| R18064 | 1600 | НЗ | 150 | НЗ | G1 | 2...4 недели | По запросу |
| R18065 | 900 | НЗ | 150 | НЗ | G1 | 2...4 недели | По запросу |
| R18066 | 600 | НЗ | 150 | НЗ | G1 | 2...4 недели | По запросу |
| R18067 | 500 | НЗ | 150 | НЗ | G1 | 2...4 недели | По запросу |
| R18068 | 150 | НО | 200 | НЗ | G1 | 2...4 недели | По запросу |
| R18069 | 200 | НО | 200 | НЗ | G1 | 2...4 недели | По запросу |
| R18070 | 250 | НО | 200 | НЗ | G1 | 2...4 недели | По запросу |
| R18071 | 300 | НО | 200 | НЗ | G1 | 2...4 недели | По запросу |
| R18072 | 400 | НО | 200 | НЗ | G1 | 2...4 недели | 3629 руб. |
| R18073 | 1600 | НО | 200 | НЗ | G1 | 2...4 недели | По запросу |
| R18074 | 900 | НО | 200 | НЗ | G1 | 2...4 недели | По запросу |
| R18075 | 600 | НО | 200 | НЗ | G1 | 2...4 недели | По запросу |
| R18076 | 500 | НО | 200 | НЗ | G1 | 2...4 недели | По запросу |
| R18077 | 150 | НЗ | 200 | НЗ | G1 | 2...4 недели | По запросу |
| R18078 | 200 | НЗ | 200 | НЗ | G1 | 2...4 недели | По запросу |
| R18079 | 250 | НЗ | 200 | НЗ | G1 | 2...4 недели | По запросу |
| R18080 | 300 | НЗ | 200 | НЗ | G1 | 2...4 недели | По запросу |
| R18081 | 400 | НЗ | 200 | НЗ | G1 | 2...4 недели | По запросу |
| R18082 | 1600 | НЗ | 200 | НЗ | G1 | 2...4 недели | По запросу |
| R18083 | 900 | НЗ | 200 | НЗ | G1 | 2...4 недели | 4083 руб. |
| R18084 | 600 | НЗ | 200 | НЗ | G1 | 2...4 недели | По запросу |
| R18085 | 500 | НЗ | 200 | НЗ | G1 | 2...4 недели | По запросу |
| R18086 | 200 | НО | 300 | НЗ | G1 | 2...4 недели | По запросу |
| R18087 | 250 | НО | 300 | НЗ | G1 | 2...4 недели | По запросу |
| R18088 | 300 | НО | 300 | НЗ | G1 | 2...4 недели | По запросу |
| R18089 | 400 | НО | 300 | НЗ | G1 | 2...4 недели | По запросу |
| R18090 | 1600 | НО | 300 | НЗ | G1 | 2...4 недели | По запросу |
| R18091 | 900 | НО | 300 | НЗ | G1 | 2...4 недели | По запросу |
| R18092 | 600 | НО | 300 | НЗ | G1 | 2...4 недели | По запросу |
| R18093 | 500 | НО | 300 | НЗ | G1 | 2...4 недели | По запросу |
| R18094 | 200 | НЗ | 300 | НЗ | G1 | 2...4 недели | По запросу |
| R18095 | 250 | НЗ | 300 | НЗ | G1 | 2...4 недели | По запросу |
| R18096 | 300 | НЗ | 300 | НЗ | G1 | 2...4 недели | По запросу |
| R18097 | 400 | НЗ | 300 | НЗ | G1 | 2...4 недели | По запросу |
| R18098 | 1600 | НЗ | 300 | НЗ | G1 | 2...4 недели | По запросу |
| R18099 | 900 | НЗ | 300 | НЗ | G1 | 2...4 недели | По запросу |
| R18100 | 600 | НЗ | 300 | НЗ | G1 | 2...4 недели | По запросу |
| R18101 | 500 | НЗ | 300 | НЗ | G1 | 2...4 недели | По запросу |
| R18102 | 250 | НО | 400 | НЗ | G1 | 2...4 недели | По запросу |
| R18103 | 300 | НО | 400 | НЗ | G1 | 2...4 недели | По запросу |
| R18104 | 400 | НО | 400 | НЗ | G1 | 2...4 недели | По запросу |
| R18105 | 1600 | НО | 400 | НЗ | G1 | 2...4 недели | По запросу |
| R18106 | 900 | НО | 400 | НЗ | G1 | 2...4 недели | По запросу |
| R18107 | 600 | НО | 400 | НЗ | G1 | 2...4 недели | По запросу |
| R18108 | 500 | НО | 400 | НЗ | G1 | 2...4 недели | 4688 руб. |
| R18109 | 250 | НЗ | 400 | НЗ | G1 | 2...4 недели | По запросу |
| R18110 | 300 | НЗ | 400 | НЗ | G1 | 2...4 недели | По запросу |
| R18111 | 400 | НЗ | 400 | НЗ | G1 | 2...4 недели | По запросу |
| R18112 | 1600 | НЗ | 400 | НЗ | G1 | 2...4 недели | 3629 руб. |
| R18113 | 900 | НЗ | 400 | НЗ | G1 | 2...4 недели | По запросу |
| R18114 | 600 | НЗ | 400 | НЗ | G1 | 2...4 недели | По запросу |
| R18115 | 500 | НЗ | 400 | НЗ | G1 | 2...4 недели | По запросу |
| R18116 | 100 | НО | 50 | НО | CL40 | 2...4 недели | 4161 руб. |
| R18117 | 150 | НО | 50 | НО | CL40 | 2...4 недели | 4161 руб. |
| R18118 | 200 | НО | 50 | НО | CL40 | 2...4 недели | 4161 руб. |
| R18119 | 250 | НО | 50 | НО | CL40 | 2...4 недели | По запросу |
| R18120 | 300 | НО | 50 | НО | CL40 | 2...4 недели | 4161 руб. |
| R18121 | 400 | НО | 50 | НО | CL40 | 2...4 недели | 4161 руб. |
| R18122 | 1600 | НО | 50 | НО | CL40 | 2...4 недели | 4161 руб. |
| R18123 | 900 | НО | 50 | НО | CL40 | 2...4 недели | По запросу |
| R18124 | 600 | НО | 50 | НО | CL40 | 2...4 недели | По запросу |
| R18125 | 500 | НО | 50 | НО | CL40 | 2...4 недели | По запросу |
| R18126 | 100 | НЗ | 50 | НО | CL40 | 2...4 недели | 4161 руб. |
| R18127 | 150 | НЗ | 50 | НО | CL40 | 2...4 недели | По запросу |
| R18128 | 200 | НЗ | 50 | НО | CL40 | 2...4 недели | По запросу |
| R18129 | 250 | НЗ | 50 | НО | CL40 | 2...4 недели | По запросу |
| R18130 | 300 | НЗ | 50 | НО | CL40 | 2...4 недели | По запросу |
| R18131 | 400 | НЗ | 50 | НО | CL40 | 2...4 недели | По запросу |
| R18132 | 1600 | НЗ | 50 | НО | CL40 | 2...4 недели | По запросу |
| R18133 | 900 | НЗ | 50 | НО | CL40 | 2...4 недели | По запросу |
| R18134 | 600 | НЗ | 50 | НО | CL40 | 2...4 недели | По запросу |
| R18135 | 500 | НЗ | 50 | НО | CL40 | 2...4 недели | По запросу |
| R18136 | 100 | НО | 100 | НО | CL40 | 2...4 недели | По запросу |
| R18137 | 150 | НО | 100 | НО | CL40 | 2...4 недели | 4161 руб. |
| R18138 | 200 | НО | 100 | НО | CL40 | 2...4 недели | По запросу |
| R18139 | 250 | НО | 100 | НО | CL40 | 2...4 недели | 4161 руб. |
| R18140 | 300 | НО | 100 | НО | CL40 | 2...4 недели | 4161 руб. |
| R18141 | 400 | НО | 100 | НО | CL40 | 2...4 недели | 4161 руб. |
| R18142 | 1600 | НО | 100 | НО | CL40 | 2...4 недели | 4161 руб. |
| R18143 | 900 | НО | 100 | НО | CL40 | 2...4 недели | По запросу |
| R18144 | 600 | НО | 100 | НО | CL40 | 2...4 недели | По запросу |
| R18145 | 500 | НО | 100 | НО | CL40 | 2...4 недели | По запросу |
| R18146 | 100 | НЗ | 100 | НО | CL40 | 2...4 недели | По запросу |
| R18147 | 150 | НЗ | 100 | НО | CL40 | 2...4 недели | По запросу |
| R18148 | 200 | НЗ | 100 | НО | CL40 | 2...4 недели | По запросу |
| R18149 | 250 | НЗ | 100 | НО | CL40 | 2...4 недели | По запросу |
| R18150 | 300 | НЗ | 100 | НО | CL40 | 2...4 недели | По запросу |
| R18151 | 400 | НЗ | 100 | НО | CL40 | 2...4 недели | По запросу |
| R18152 | 1600 | НЗ | 100 | НО | CL40 | 2...4 недели | По запросу |
| R18153 | 900 | НЗ | 100 | НО | CL40 | 2...4 недели | По запросу |
| R18154 | 600 | НЗ | 100 | НО | CL40 | 2...4 недели | По запросу |
| R18155 | 500 | НЗ | 100 | НО | CL40 | 2...4 недели | По запросу |
| R18156 | 100 | НО | 150 | НО | CL40 | 2...4 недели | По запросу |
| R18157 | 150 | НО | 150 | НО | CL40 | 2...4 недели | По запросу |
| R18158 | 200 | НО | 150 | НО | CL40 | 2...4 недели | 4161 руб. |
| R18159 | 250 | НО | 150 | НО | CL40 | 2...4 недели | По запросу |
| R18160 | 300 | НО | 150 | НО | CL40 | 2...4 недели | 4161 руб. |
| R18161 | 400 | НО | 150 | НО | CL40 | 2...4 недели | По запросу |
| R18162 | 1600 | НО | 150 | НО | CL40 | 2...4 недели | По запросу |
| R18163 | 900 | НО | 150 | НО | CL40 | 2...4 недели | По запросу |
| R18164 | 600 | НО | 150 | НО | CL40 | 2...4 недели | По запросу |
| R18165 | 500 | НО | 150 | НО | CL40 | 2...4 недели | По запросу |
| R18166 | 100 | НЗ | 150 | НО | CL40 | 2...4 недели | По запросу |
| R18167 | 150 | НЗ | 150 | НО | CL40 | 2...4 недели | По запросу |
| R18168 | 200 | НЗ | 150 | НО | CL40 | 2...4 недели | По запросу |
| R18169 | 250 | НЗ | 150 | НО | CL40 | 2...4 недели | 4161 руб. |
| R18170 | 300 | НЗ | 150 | НО | CL40 | 2...4 недели | По запросу |
| R18171 | 400 | НЗ | 150 | НО | CL40 | 2...4 недели | По запросу |
| R18172 | 1600 | НЗ | 150 | НО | CL40 | 2...4 недели | По запросу |
| R18173 | 900 | НЗ | 150 | НО | CL40 | 2...4 недели | По запросу |
| R18174 | 600 | НЗ | 150 | НО | CL40 | 2...4 недели | По запросу |
| R18175 | 500 | НЗ | 150 | НО | CL40 | 2...4 недели | По запросу |
| R18176 | 150 | НО | 200 | НО | CL40 | 2...4 недели | По запросу |
| R18177 | 200 | НО | 200 | НО | CL40 | 2...4 недели | По запросу |
| R18178 | 250 | НО | 200 | НО | CL40 | 2...4 недели | По запросу |
| R18179 | 300 | НО | 200 | НО | CL40 | 2...4 недели | 4161 руб. |
| R18180 | 400 | НО | 200 | НО | CL40 | 2...4 недели | По запросу |
| R18181 | 1600 | НО | 200 | НО | CL40 | 2...4 недели | 4161 руб. |
| R18182 | 900 | НО | 200 | НО | CL40 | 2...4 недели | По запросу |
| R18183 | 600 | НО | 200 | НО | CL40 | 2...4 недели | По запросу |
| R18184 | 500 | НО | 200 | НО | CL40 | 2...4 недели | По запросу |
| R18185 | 150 | НЗ | 200 | НО | CL40 | 2...4 недели | По запросу |
| R18186 | 200 | НЗ | 200 | НО | CL40 | 2...4 недели | По запросу |
| R18187 | 250 | НЗ | 200 | НО | CL40 | 2...4 недели | По запросу |
| R18188 | 300 | НЗ | 200 | НО | CL40 | 2...4 недели | По запросу |
| R18189 | 400 | НЗ | 200 | НО | CL40 | 2...4 недели | По запросу |
| R18190 | 1600 | НЗ | 200 | НО | CL40 | 2...4 недели | По запросу |
| R18191 | 900 | НЗ | 200 | НО | CL40 | 2...4 недели | По запросу |
| R18192 | 600 | НЗ | 200 | НО | CL40 | 2...4 недели | По запросу |
| R18193 | 500 | НЗ | 200 | НО | CL40 | 2...4 недели | По запросу |
| R18194 | 200 | НО | 300 | НО | CL40 | 2...4 недели | По запросу |
| R18195 | 250 | НО | 300 | НО | CL40 | 2...4 недели | По запросу |
| R18196 | 300 | НО | 300 | НО | CL40 | 2...4 недели | По запросу |
| R18197 | 400 | НО | 300 | НО | CL40 | 2...4 недели | По запросу |
| R18198 | 1600 | НО | 300 | НО | CL40 | 2...4 недели | 4161 руб. |
| R18199 | 900 | НО | 300 | НО | CL40 | 2...4 недели | 4615 руб. |
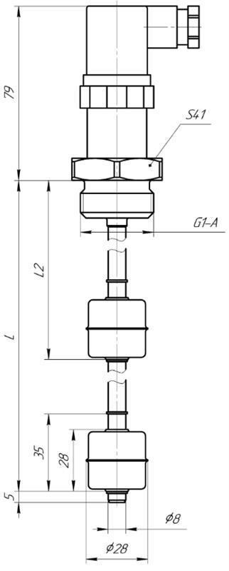
| Габаритные размеры | |
| ПДУ-2Н.2 (G1-A) | ПДУ-2Н.2 (CL40) |
![]() | ![]() |
Обозначение при заказе
| Двухуровневые поплавковые датчики уровня ОВЕН ПДУ |
![]() |











