Поплавковый датчик уровня ОВЕН ПДУ-2.1
Поплавковые датчики уровня ОВЕН ПДУ-2.1 – устройства, предназначенные для сигнализации уровня жидкостей. ОВЕН ПДУ-2.1 применяются в составе систем контроля и регулирования жидкости (воды, растворов, светлых нефтепродуктов и иных жидких сред, в том числе и агрессивных, за исключением коррозионно-активных к материалу датчика) в различных резервуарах. ОВЕН ПДУ-2.1 применяются для измерения как текущего, так и предельного (максимального или минимального) уровня жидкости. Поплавковые датчики уровня имеют общепромышленные и взрывозащищенные исполнения.
Поплавковые датчики уровня ОВЕН устойчивы к пене и пузырькам и могут работать с вязкими жидкостями.
Для контроля уровня невязких жидкостей выпускаются датчики уровня с цилиндрическим поплавком ПДУ-2.1.
Для подключения к АСУ ТП датчики ОВЕН ПДУ снабжены силиконовым кабелем AWG 24 длиной от 1 метра до 120 метров, ОВЕН ПДУ-Н снабжены электрическим разъемом стандарта DIN 43650 A.
Особенности конструкции и монтажа датчиков уровня ОВЕН ПДУ
Датчик уровня имеет поплавок, передвигающийся по вертикальному штоку. Внутри поплавка находится постоянный магнит, а в штоке, представляющем собой полую трубку, находится геркон. Герконовый контакт срабатывает при приближении магнита. Если установка датчика сверху емкости невозможна, то поплавковый датчик уровня можно вмонтировать в стенку емкости или в дно.
| Варианты крепления датчика уровня ПДУ |
![]() |
Датчики ОВЕН ПДУ производятся с нормально-разомкнутым и нормально-замкнутым контактом.
| Варианты исполнения контактов ОВЕН ПДУ | |
![]() | ![]() |
| ПДУ с нормально-разомкнутым контактом | ПДУ с нормально-замкнутым контактом |
Повышение уровня жидкости в резервуаре приводит к перемещению поплавка вверх и замыканию/размыканию контакта датчика уровня.
Применение датчиков уровня ОВЕН ПДУ
Датчики ОВЕН ПДУ могут работать при температурах до +105°С в химически агрессивных средах. Материал датчика – нержавеющая сталь (12X18H10T).
ОВЕН ПДУ используются для контроля уровня сточных вод, химически агрессивных жидкостей или пищевых продуктов, в том числе вязких жидкостей. Поплавковые датчики могут применяться для контроля уровня жидкости в транспортных средствах, например, для контроля объема топлива в тяжелой технике: грузовиках, экскаваторах, тепловозах. Здесь датчики уровня работают в условиях сильной вибрации и волнения на поверхности жидкости. Для устранения влияния этих факторов поплавковый датчик помещают в специальную демпферную трубу, диаметром чуть больше, чем диаметр поплавка.
Следует помнить, что датчики уровня поплавкового типа не подходят для измерения липких и засыхающих жидкостей, жидкостей с механическими включениями, а также в случае замерзания жидкости.
Технические характеристики
| Параметр | Значение |
| Электрические параметры | |
| Количество сигнализируемых уровней* | 1 |
| Максимальная коммутируемая мощность | 10 Вт |
| Максимальный коммутируемый ток | 0,5 А |
| Максимальное коммутируемое напряжение | 180 В |
| Количество срабатываний при напряжении коммутации постоянного тока 24 В и токе 0,25 А | 1×106 |
| Конструктивные параметры | |
| Расположение оси крепежного отверстия датчика в резервуаре | Вертикальное |
| Максимальная длина штока до нижнего уровня L | 2500 мм |
| Нормальное состояние контактов датчика | |
| Для ПДУ-2.1 | Нормально-разомкнутое |
| Материал рабочей части датчика: арматура поплавок | Сталь 12Х18Н10Т AISI 316L |
| Степень защиты по ГОСТ 14254 | IP68 для погружной (рабочей) части датчика IP65 для внешней части датчика (от плоскости присоединения к процессу) |
| Минимальная длина кабельного вывода | 1 м** |
* – Зависит от исполнения.
** – Длина кабельного вывода определяется при заказе.
Возможно изготовление модификаций поплавковых датчиков уровня ОВЕН ПДУ с взрывозащитой типа «искробезопасная цепь» 0Ex ia IIC T4 Х.
Все модификации
| Артикул | Длина штока до нижнего уровня, мм | Тип контакта | Длина кабельного вывода, мм | Срок поставки | Стоимость |
|---|---|---|---|---|---|
| N66551 | 100 | НО | 1000 | 2...4 недели | 2532 руб. |
| N66552 | 150 | НО | 1000 | 2...4 недели | 2532 руб. |
| N66553 | 200 | НО | 1000 | 2...4 недели | 2532 руб. |
| N66554 | 250 | НО | 1000 | 2...4 недели | 2532 руб. |
| N66555 | 300 | НО | 1000 | 2...4 недели | 2532 руб. |
| N66556 | 350 | НО | 1000 | 2...4 недели | 2532 руб. |
| N66557 | 400 | НО | 1000 | 2...4 недели | 2532 руб. |
| N66558 | 450 | НО | 1000 | 2...4 недели | 2532 руб. |
| N66559 | 500 | НО | 1000 | 2...4 недели | 2532 руб. |
| N66560 | 550 | НО | 1000 | 2...4 недели | 3002 руб. |
| N66561 | 600 | НО | 1000 | 2...4 недели | 3002 руб. |
| N66562 | 650 | НО | 1000 | 2...4 недели | 3002 руб. |
| N66563 | 700 | НО | 1000 | 2...4 недели | 3002 руб. |
| N66564 | 750 | НО | 1000 | 2...4 недели | 3002 руб. |
| N66565 | 800 | НО | 1000 | 2...4 недели | 3002 руб. |
| N66566 | 850 | НО | 1000 | 2...4 недели | 3002 руб. |
| N66567 | 900 | НО | 1000 | 2...4 недели | 3002 руб. |
| N66568 | 950 | НО | 1000 | 2...4 недели | 3002 руб. |
| N66569 | 1000 | НО | 1000 | 2...4 недели | 3002 руб. |
| N66570 | 100 | НЗ | 1000 | 2...4 недели | 2532 руб. |
| N66571 | 150 | НЗ | 1000 | 2...4 недели | 2532 руб. |
| N66572 | 200 | НЗ | 1000 | 2...4 недели | 2532 руб. |
| N66573 | 250 | НЗ | 1000 | 2...4 недели | 2532 руб. |
| N66574 | 300 | НЗ | 1000 | 2...4 недели | 2532 руб. |
| N66575 | 350 | НЗ | 1000 | 2...4 недели | 2532 руб. |
| N66576 | 400 | НЗ | 1000 | 2...4 недели | 2532 руб. |
| N66577 | 450 | НЗ | 1000 | 2...4 недели | 2532 руб. |
| N66578 | 500 | НЗ | 1000 | 2...4 недели | 2532 руб. |
| N66579 | 550 | НЗ | 1000 | 2...4 недели | 3002 руб. |
| N66580 | 600 | НЗ | 1000 | 2...4 недели | 3002 руб. |
| N66581 | 650 | НЗ | 1000 | 2...4 недели | 3002 руб. |
| N66582 | 700 | НЗ | 1000 | 2...4 недели | 3002 руб. |
| N66583 | 750 | НЗ | 1000 | 2...4 недели | 3002 руб. |
| N66584 | 800 | НЗ | 1000 | 2...4 недели | 3002 руб. |
| N66585 | 850 | НЗ | 1000 | 2...4 недели | 3002 руб. |
| N66586 | 900 | НЗ | 1000 | 2...4 недели | 3002 руб. |
| N66587 | 950 | НЗ | 1000 | 2...4 недели | 3002 руб. |
| N66588 | 1000 | НЗ | 1000 | 2...4 недели | 3002 руб. |
| N66589 | 100 | НО | 2000 | 2...4 недели | 2699 руб. |
| N66590 | 150 | НО | 2000 | 2...4 недели | 2699 руб. |
| N66591 | 200 | НО | 2000 | 2...4 недели | 2699 руб. |
| N66592 | 250 | НО | 2000 | 2...4 недели | 2699 руб. |
| N66593 | 300 | НО | 2000 | 2...4 недели | 2699 руб. |
| N66594 | 350 | НО | 2000 | 2...4 недели | 2699 руб. |
| N66595 | 400 | НО | 2000 | 2...4 недели | 2699 руб. |
| N66596 | 450 | НО | 2000 | 2...4 недели | 2699 руб. |
| N66597 | 500 | НО | 2000 | 2...4 недели | 2699 руб. |
| N66598 | 550 | НО | 2000 | 2...4 недели | 3169 руб. |
| N66599 | 600 | НО | 2000 | 2...4 недели | 3169 руб. |
| N66600 | 650 | НО | 2000 | 2...4 недели | 3169 руб. |
| N66601 | 700 | НО | 2000 | 2...4 недели | 3169 руб. |
| N66602 | 750 | НО | 2000 | 2...4 недели | 3169 руб. |
| N66603 | 800 | НО | 2000 | 2...4 недели | 3169 руб. |
| N66604 | 850 | НО | 2000 | 2...4 недели | 3169 руб. |
| N66605 | 900 | НО | 2000 | 2...4 недели | 3169 руб. |
| N66606 | 950 | НО | 2000 | 2...4 недели | 3169 руб. |
| N66607 | 1000 | НО | 2000 | 2...4 недели | 3169 руб. |
| N66608 | 100 | НЗ | 2000 | 2...4 недели | 2699 руб. |
| N66609 | 150 | НЗ | 2000 | 2...4 недели | 2699 руб. |
| N66610 | 200 | НЗ | 2000 | 2...4 недели | 2699 руб. |
| N66611 | 250 | НЗ | 2000 | 2...4 недели | 2699 руб. |
| N66612 | 300 | НЗ | 2000 | 2...4 недели | 2699 руб. |
| N66613 | 350 | НЗ | 2000 | 2...4 недели | 2699 руб. |
| N66614 | 400 | НЗ | 2000 | 2...4 недели | 2699 руб. |
| N66615 | 450 | НЗ | 2000 | 2...4 недели | 2699 руб. |
| N66616 | 500 | НЗ | 2000 | 2...4 недели | 2699 руб. |
| N66617 | 550 | НЗ | 2000 | 2...4 недели | 3169 руб. |
| N66618 | 600 | НЗ | 2000 | 2...4 недели | 3169 руб. |
| N66619 | 650 | НЗ | 2000 | 2...4 недели | 3169 руб. |
| N66620 | 700 | НЗ | 2000 | 2...4 недели | 3169 руб. |
| N66621 | 750 | НЗ | 2000 | 2...4 недели | 3169 руб. |
| N66622 | 800 | НЗ | 2000 | 2...4 недели | 3169 руб. |
| N66623 | 850 | НЗ | 2000 | 2...4 недели | 3169 руб. |
| N66624 | 900 | НЗ | 2000 | 2...4 недели | 3169 руб. |
| N66625 | 950 | НЗ | 2000 | 2...4 недели | 3169 руб. |
| N66626 | 1000 | НЗ | 2000 | 2...4 недели | 3169 руб. |
| N66627 | 100 | НО | 3000 | 2...4 недели | 2866 руб. |
| N66628 | 150 | НО | 3000 | 2...4 недели | 2866 руб. |
| N66629 | 200 | НО | 3000 | 2...4 недели | 2866 руб. |
| N66630 | 250 | НО | 3000 | 2...4 недели | 2866 руб. |
| N66631 | 300 | НО | 3000 | 2...4 недели | 2866 руб. |
| N66632 | 350 | НО | 3000 | 2...4 недели | 2866 руб. |
| N66633 | 400 | НО | 3000 | 2...4 недели | 2866 руб. |
| N66634 | 450 | НО | 3000 | 2...4 недели | 2866 руб. |
| N66635 | 500 | НО | 3000 | 2...4 недели | 2866 руб. |
| N66636 | 550 | НО | 3000 | 2...4 недели | 3336 руб. |
| N66637 | 600 | НО | 3000 | 2...4 недели | 3336 руб. |
| N66638 | 650 | НО | 3000 | 2...4 недели | 3336 руб. |
| N66639 | 700 | НО | 3000 | 2...4 недели | 3336 руб. |
| N66640 | 750 | НО | 3000 | 2...4 недели | 3336 руб. |
| N66641 | 800 | НО | 3000 | 2...4 недели | 3336 руб. |
| N66642 | 850 | НО | 3000 | 2...4 недели | 3336 руб. |
| N66643 | 900 | НО | 3000 | 2...4 недели | 3336 руб. |
| N66644 | 950 | НО | 3000 | 2...4 недели | 3336 руб. |
| N66645 | 1000 | НО | 3000 | 2...4 недели | 3336 руб. |
| N66646 | 100 | НЗ | 3000 | 2...4 недели | 2866 руб. |
| N66647 | 150 | НЗ | 3000 | 2...4 недели | 2866 руб. |
| N66648 | 200 | НЗ | 3000 | 2...4 недели | 2866 руб. |
| N66649 | 250 | НЗ | 3000 | 2...4 недели | 2866 руб. |
| N66650 | 300 | НЗ | 3000 | 2...4 недели | 2866 руб. |
| N66651 | 350 | НЗ | 3000 | 2...4 недели | 2866 руб. |
| N66652 | 400 | НЗ | 3000 | 2...4 недели | 2866 руб. |
| N66653 | 450 | НЗ | 3000 | 2...4 недели | 2866 руб. |
| N66654 | 500 | НЗ | 3000 | 2...4 недели | 2866 руб. |
| N66655 | 550 | НЗ | 3000 | 2...4 недели | 3336 руб. |
| N66656 | 600 | НЗ | 3000 | 2...4 недели | 3336 руб. |
| N66657 | 650 | НЗ | 3000 | 2...4 недели | 3336 руб. |
| N66658 | 700 | НЗ | 3000 | 2...4 недели | 3336 руб. |
| N66659 | 750 | НЗ | 3000 | 2...4 недели | 3336 руб. |
| N66660 | 800 | НЗ | 3000 | 2...4 недели | 3336 руб. |
| N66661 | 850 | НЗ | 3000 | 2...4 недели | 3336 руб. |
| N66662 | 900 | НЗ | 3000 | 2...4 недели | 3336 руб. |
| N66663 | 950 | НЗ | 3000 | 2...4 недели | 3336 руб. |
| N66664 | 1000 | НЗ | 3000 | 2...4 недели | 3336 руб. |
| N66665 | 100 | НО | 4000 | 2...4 недели | 3033 руб. |
| N66666 | 150 | НО | 4000 | 2...4 недели | 3033 руб. |
| N66667 | 200 | НО | 4000 | 2...4 недели | 3033 руб. |
| N66668 | 250 | НО | 4000 | 2...4 недели | 3033 руб. |
| N66669 | 300 | НО | 4000 | 2...4 недели | 3033 руб. |
| N66670 | 350 | НО | 4000 | 2...4 недели | 3033 руб. |
| N66671 | 400 | НО | 4000 | 2...4 недели | 3033 руб. |
| N66672 | 450 | НО | 4000 | 2...4 недели | 3033 руб. |
| N66673 | 500 | НО | 4000 | 2...4 недели | 3033 руб. |
| N66674 | 550 | НО | 4000 | 2...4 недели | 3503 руб. |
| N66675 | 600 | НО | 4000 | 2...4 недели | 3503 руб. |
| N66676 | 650 | НО | 4000 | 2...4 недели | 3503 руб. |
| N66677 | 700 | НО | 4000 | 2...4 недели | 3503 руб. |
| N66678 | 750 | НО | 4000 | 2...4 недели | 3503 руб. |
| N66679 | 800 | НО | 4000 | 2...4 недели | 3503 руб. |
| N66680 | 850 | НО | 4000 | 2...4 недели | 3503 руб. |
| N66681 | 900 | НО | 4000 | 2...4 недели | 3503 руб. |
| N66682 | 950 | НО | 4000 | 2...4 недели | 3503 руб. |
| N66683 | 1000 | НО | 4000 | 2...4 недели | 3503 руб. |
| N66684 | 100 | НЗ | 4000 | 2...4 недели | 3033 руб. |
| N66685 | 150 | НЗ | 4000 | 2...4 недели | 3033 руб. |
| N66686 | 200 | НЗ | 4000 | 2...4 недели | 3033 руб. |
| N66687 | 250 | НЗ | 4000 | 2...4 недели | 3033 руб. |
| N66688 | 300 | НЗ | 4000 | 2...4 недели | 3033 руб. |
| N66689 | 350 | НЗ | 4000 | 2...4 недели | 3033 руб. |
| N66690 | 400 | НЗ | 4000 | 2...4 недели | 3033 руб. |
| N66691 | 450 | НЗ | 4000 | 2...4 недели | 3033 руб. |
| N66692 | 500 | НЗ | 4000 | 2...4 недели | 3033 руб. |
| N66693 | 550 | НЗ | 4000 | 2...4 недели | 3503 руб. |
| N66694 | 600 | НЗ | 4000 | 2...4 недели | 3503 руб. |
| N66695 | 650 | НЗ | 4000 | 2...4 недели | 3503 руб. |
| N66696 | 700 | НЗ | 4000 | 2...4 недели | 3503 руб. |
| N66697 | 750 | НЗ | 4000 | 2...4 недели | 3503 руб. |
| N66698 | 800 | НЗ | 4000 | 2...4 недели | 3503 руб. |
| N66699 | 850 | НЗ | 4000 | 2...4 недели | 3503 руб. |
| N66700 | 900 | НЗ | 4000 | 2...4 недели | 3503 руб. |
| N66701 | 950 | НЗ | 4000 | 2...4 недели | 3503 руб. |
| N66702 | 1000 | НЗ | 4000 | 2...4 недели | 3503 руб. |
| N66703 | 100 | НО | 5000 | 2...4 недели | 3200 руб. |
| N66704 | 150 | НО | 5000 | 2...4 недели | 3200 руб. |
| N66705 | 200 | НО | 5000 | 2...4 недели | 3200 руб. |
| N66706 | 250 | НО | 5000 | 2...4 недели | 3200 руб. |
| N66707 | 300 | НО | 5000 | 2...4 недели | 3200 руб. |
| N66708 | 350 | НО | 5000 | 2...4 недели | 3200 руб. |
| N66709 | 400 | НО | 5000 | 2...4 недели | 3200 руб. |
| N66710 | 450 | НО | 5000 | 2...4 недели | 3200 руб. |
| N66711 | 500 | НО | 5000 | 2...4 недели | 3200 руб. |
| N66712 | 550 | НО | 5000 | 2...4 недели | 3670 руб. |
| N66713 | 600 | НО | 5000 | 2...4 недели | 3670 руб. |
| N66714 | 650 | НО | 5000 | 2...4 недели | 3670 руб. |
| N66715 | 700 | НО | 5000 | 2...4 недели | 3670 руб. |
| N66716 | 750 | НО | 5000 | 2...4 недели | 3670 руб. |
| N66717 | 800 | НО | 5000 | 2...4 недели | 3670 руб. |
| N66718 | 850 | НО | 5000 | 2...4 недели | 3670 руб. |
| N66719 | 900 | НО | 5000 | 2...4 недели | 3670 руб. |
| N66720 | 950 | НО | 5000 | 2...4 недели | 3670 руб. |
| N66721 | 1000 | НО | 5000 | 2...4 недели | 3670 руб. |
| N66722 | 100 | НЗ | 5000 | 2...4 недели | 3200 руб. |
| N66723 | 150 | НЗ | 5000 | 2...4 недели | 3200 руб. |
| N66724 | 200 | НЗ | 5000 | 2...4 недели | 3200 руб. |
| N66725 | 250 | НЗ | 5000 | 2...4 недели | 3200 руб. |
| N66726 | 300 | НЗ | 5000 | 2...4 недели | 3200 руб. |
| N66727 | 350 | НЗ | 5000 | 2...4 недели | 3200 руб. |
| N66728 | 400 | НЗ | 5000 | 2...4 недели | 3200 руб. |
| N66729 | 450 | НЗ | 5000 | 2...4 недели | 3200 руб. |
| N66730 | 500 | НЗ | 5000 | 2...4 недели | 3200 руб. |
| N66731 | 550 | НЗ | 5000 | 2...4 недели | 3670 руб. |
| N66732 | 600 | НЗ | 5000 | 2...4 недели | 3670 руб. |
| N66733 | 650 | НЗ | 5000 | 2...4 недели | 3670 руб. |
| N66734 | 700 | НЗ | 5000 | 2...4 недели | 3670 руб. |
| N66735 | 750 | НЗ | 5000 | 2...4 недели | 3670 руб. |
| N66736 | 800 | НЗ | 5000 | 2...4 недели | 3670 руб. |
| N66737 | 850 | НЗ | 5000 | 2...4 недели | 3670 руб. |
| N66738 | 900 | НЗ | 5000 | 2...4 недели | 3670 руб. |
| N66739 | 950 | НЗ | 5000 | 2...4 недели | 3670 руб. |
| N66740 | 1000 | НЗ | 5000 | 2...4 недели | 3670 руб. |
| N66741 | 100 | НО | 6000 | 2...4 недели | 3367 руб. |
| N66742 | 150 | НО | 6000 | 2...4 недели | 3367 руб. |
| N66743 | 200 | НО | 6000 | 2...4 недели | 3367 руб. |
| N66744 | 250 | НО | 6000 | 2...4 недели | 3367 руб. |
| N66745 | 300 | НО | 6000 | 2...4 недели | 3367 руб. |
| N66746 | 350 | НО | 6000 | 2...4 недели | 3367 руб. |
| N66747 | 400 | НО | 6000 | 2...4 недели | 3367 руб. |
| N66748 | 450 | НО | 6000 | 2...4 недели | 3367 руб. |
| N66749 | 500 | НО | 6000 | 2...4 недели | 3367 руб. |
| N66750 | 550 | НО | 6000 | 2...4 недели | 3837 руб. |
| N66751 | 600 | НО | 6000 | 2...4 недели | 3837 руб. |
| N66752 | 650 | НО | 6000 | 2...4 недели | 3837 руб. |
| N66753 | 700 | НО | 6000 | 2...4 недели | 3837 руб. |
| N66754 | 750 | НО | 6000 | 2...4 недели | 3837 руб. |
| N66755 | 800 | НО | 6000 | 2...4 недели | 3837 руб. |
| N66756 | 850 | НО | 6000 | 2...4 недели | 3837 руб. |
| N66757 | 900 | НО | 6000 | 2...4 недели | 3837 руб. |
| N66758 | 950 | НО | 6000 | 2...4 недели | 3837 руб. |
| N66759 | 1000 | НО | 6000 | 2...4 недели | 3837 руб. |
| N66760 | 100 | НЗ | 6000 | 2...4 недели | 3367 руб. |
| N66761 | 150 | НЗ | 6000 | 2...4 недели | 3367 руб. |
| N66762 | 200 | НЗ | 6000 | 2...4 недели | 3367 руб. |
| N66763 | 250 | НЗ | 6000 | 2...4 недели | 3367 руб. |
| N66764 | 300 | НЗ | 6000 | 2...4 недели | 3367 руб. |
| N66765 | 350 | НЗ | 6000 | 2...4 недели | 3367 руб. |
| N66766 | 400 | НЗ | 6000 | 2...4 недели | 3367 руб. |
| N66767 | 450 | НЗ | 6000 | 2...4 недели | 3367 руб. |
| N66768 | 500 | НЗ | 6000 | 2...4 недели | 3367 руб. |
| N66769 | 550 | НЗ | 6000 | 2...4 недели | 3837 руб. |
| N66770 | 600 | НЗ | 6000 | 2...4 недели | 3837 руб. |
| N66771 | 650 | НЗ | 6000 | 2...4 недели | 3837 руб. |
| N66772 | 700 | НЗ | 6000 | 2...4 недели | 3837 руб. |
| N66773 | 750 | НЗ | 6000 | 2...4 недели | 3837 руб. |
| N66774 | 800 | НЗ | 6000 | 2...4 недели | 3837 руб. |
| N66775 | 850 | НЗ | 6000 | 2...4 недели | 3837 руб. |
| N66776 | 900 | НЗ | 6000 | 2...4 недели | 3837 руб. |
| N66777 | 950 | НЗ | 6000 | 2...4 недели | 3837 руб. |
| N66778 | 1000 | НЗ | 6000 | 2...4 недели | 3837 руб. |
| N66779 | 100 | НО | 7000 | 2...4 недели | 3534 руб. |
| N66780 | 150 | НО | 7000 | 2...4 недели | 3534 руб. |
| N66781 | 200 | НО | 7000 | 2...4 недели | 3534 руб. |
| N66782 | 250 | НО | 7000 | 2...4 недели | 3534 руб. |
| N66783 | 300 | НО | 7000 | 2...4 недели | 3534 руб. |
| N66784 | 350 | НО | 7000 | 2...4 недели | 3534 руб. |
| N66785 | 400 | НО | 7000 | 2...4 недели | 3534 руб. |
| N66786 | 450 | НО | 7000 | 2...4 недели | 3534 руб. |
| N66787 | 500 | НО | 7000 | 2...4 недели | 3534 руб. |
| N66788 | 550 | НО | 7000 | 2...4 недели | 4004 руб. |
| N66789 | 600 | НО | 7000 | 2...4 недели | 4004 руб. |
| N66790 | 650 | НО | 7000 | 2...4 недели | 4004 руб. |
| N66791 | 700 | НО | 7000 | 2...4 недели | 4004 руб. |
| N66792 | 750 | НО | 7000 | 2...4 недели | 4004 руб. |
| N66793 | 800 | НО | 7000 | 2...4 недели | 4004 руб. |
| N66794 | 850 | НО | 7000 | 2...4 недели | 4004 руб. |
| N66795 | 900 | НО | 7000 | 2...4 недели | 4004 руб. |
| N66796 | 950 | НО | 7000 | 2...4 недели | 4004 руб. |
| N66797 | 1000 | НО | 7000 | 2...4 недели | 4004 руб. |
| N66798 | 100 | НЗ | 7000 | 2...4 недели | 3534 руб. |
| N66799 | 150 | НЗ | 7000 | 2...4 недели | 3534 руб. |
| N66800 | 200 | НЗ | 7000 | 2...4 недели | 3534 руб. |
| N66801 | 250 | НЗ | 7000 | 2...4 недели | 3534 руб. |
| N66802 | 300 | НЗ | 7000 | 2...4 недели | 3534 руб. |
| N66803 | 350 | НЗ | 7000 | 2...4 недели | 3534 руб. |
| N66804 | 400 | НЗ | 7000 | 2...4 недели | 3534 руб. |
| N66805 | 450 | НЗ | 7000 | 2...4 недели | 3534 руб. |
| N66806 | 500 | НЗ | 7000 | 2...4 недели | 3534 руб. |
| N66807 | 550 | НЗ | 7000 | 2...4 недели | 4004 руб. |
| N66808 | 600 | НЗ | 7000 | 2...4 недели | 4004 руб. |
| N66809 | 650 | НЗ | 7000 | 2...4 недели | 4004 руб. |
| N66810 | 700 | НЗ | 7000 | 2...4 недели | 4004 руб. |
| N66811 | 750 | НЗ | 7000 | 2...4 недели | 4004 руб. |
| N66812 | 800 | НЗ | 7000 | 2...4 недели | 4004 руб. |
| N66813 | 850 | НЗ | 7000 | 2...4 недели | 4004 руб. |
| N66814 | 900 | НЗ | 7000 | 2...4 недели | 4004 руб. |
| N66815 | 950 | НЗ | 7000 | 2...4 недели | 4004 руб. |
| N66816 | 1000 | НЗ | 7000 | 2...4 недели | 4004 руб. |
| N66817 | 100 | НО | 8000 | 2...4 недели | 3701 руб. |
| N66818 | 150 | НО | 8000 | 2...4 недели | 3701 руб. |
| N66819 | 200 | НО | 8000 | 2...4 недели | 3701 руб. |
| N66820 | 250 | НО | 8000 | 2...4 недели | 3701 руб. |
| N66821 | 300 | НО | 8000 | 2...4 недели | 3701 руб. |
| N66822 | 350 | НО | 8000 | 2...4 недели | 3701 руб. |
| N66823 | 400 | НО | 8000 | 2...4 недели | 3701 руб. |
| N66824 | 450 | НО | 8000 | 2...4 недели | 3701 руб. |
| N66825 | 500 | НО | 8000 | 2...4 недели | 3701 руб. |
| N66826 | 550 | НО | 8000 | 2...4 недели | 4171 руб. |
| N66827 | 600 | НО | 8000 | 2...4 недели | 4171 руб. |
| N66828 | 650 | НО | 8000 | 2...4 недели | 4171 руб. |
| N66829 | 700 | НО | 8000 | 2...4 недели | 4171 руб. |
| N66830 | 750 | НО | 8000 | 2...4 недели | 4171 руб. |
| N66831 | 800 | НО | 8000 | 2...4 недели | 4171 руб. |
| N66832 | 850 | НО | 8000 | 2...4 недели | 4171 руб. |
| N66833 | 900 | НО | 8000 | 2...4 недели | 4171 руб. |
| N66834 | 950 | НО | 8000 | 2...4 недели | 4171 руб. |
| N66835 | 1000 | НО | 8000 | 2...4 недели | 4171 руб. |
| N66836 | 100 | НЗ | 8000 | 2...4 недели | 3701 руб. |
| N66837 | 150 | НЗ | 8000 | 2...4 недели | 3701 руб. |
| N66838 | 200 | НЗ | 8000 | 2...4 недели | 3701 руб. |
| N66839 | 250 | НЗ | 8000 | 2...4 недели | 3701 руб. |
| N66840 | 300 | НЗ | 8000 | 2...4 недели | 3701 руб. |
| N66841 | 350 | НЗ | 8000 | 2...4 недели | 3701 руб. |
| N66842 | 400 | НЗ | 8000 | 2...4 недели | 3701 руб. |
| N66843 | 450 | НЗ | 8000 | 2...4 недели | 3701 руб. |
| N66844 | 500 | НЗ | 8000 | 2...4 недели | 3701 руб. |
| N66845 | 550 | НЗ | 8000 | 2...4 недели | 4171 руб. |
| N66846 | 600 | НЗ | 8000 | 2...4 недели | 4171 руб. |
| N66847 | 650 | НЗ | 8000 | 2...4 недели | 4171 руб. |
| N66848 | 700 | НЗ | 8000 | 2...4 недели | 4171 руб. |
| N66849 | 750 | НЗ | 8000 | 2...4 недели | 4171 руб. |
| N66850 | 800 | НЗ | 8000 | 2...4 недели | 4171 руб. |
| N66851 | 850 | НЗ | 8000 | 2...4 недели | 4171 руб. |
| N66852 | 900 | НЗ | 8000 | 2...4 недели | 4171 руб. |
| N66853 | 950 | НЗ | 8000 | 2...4 недели | 4171 руб. |
| N66854 | 1000 | НЗ | 8000 | 2...4 недели | 4171 руб. |
| N66855 | 100 | НО | 9000 | 2...4 недели | 3868 руб. |
| N66856 | 150 | НО | 9000 | 2...4 недели | 3868 руб. |
| N66857 | 200 | НО | 9000 | 2...4 недели | 3868 руб. |
| N66858 | 250 | НО | 9000 | 2...4 недели | 3868 руб. |
| N66859 | 300 | НО | 9000 | 2...4 недели | 3868 руб. |
| N66860 | 350 | НО | 9000 | 2...4 недели | 3868 руб. |
| N66861 | 400 | НО | 9000 | 2...4 недели | 3868 руб. |
| N66862 | 450 | НО | 9000 | 2...4 недели | 3868 руб. |
| N66863 | 500 | НО | 9000 | 2...4 недели | 3868 руб. |
| N66864 | 550 | НО | 9000 | 2...4 недели | 4338 руб. |
| N66865 | 600 | НО | 9000 | 2...4 недели | 4338 руб. |
| N66866 | 650 | НО | 9000 | 2...4 недели | 4338 руб. |
| N66867 | 700 | НО | 9000 | 2...4 недели | 4338 руб. |
| N66868 | 750 | НО | 9000 | 2...4 недели | 4338 руб. |
| N66869 | 800 | НО | 9000 | 2...4 недели | 4338 руб. |
| N66870 | 850 | НО | 9000 | 2...4 недели | 4338 руб. |
| N66871 | 900 | НО | 9000 | 2...4 недели | 4338 руб. |
| N66872 | 950 | НО | 9000 | 2...4 недели | 4338 руб. |
| N66873 | 1000 | НО | 9000 | 2...4 недели | 4338 руб. |
| N66874 | 100 | НЗ | 9000 | 2...4 недели | 3868 руб. |
| N66875 | 150 | НЗ | 9000 | 2...4 недели | 3868 руб. |
| N66876 | 200 | НЗ | 9000 | 2...4 недели | 3868 руб. |
| N66877 | 250 | НЗ | 9000 | 2...4 недели | 3868 руб. |
| N66878 | 300 | НЗ | 9000 | 2...4 недели | 3868 руб. |
| N66879 | 350 | НЗ | 9000 | 2...4 недели | 3868 руб. |
| N66880 | 400 | НЗ | 9000 | 2...4 недели | 3868 руб. |
| N66881 | 450 | НЗ | 9000 | 2...4 недели | 3868 руб. |
| N66882 | 500 | НЗ | 9000 | 2...4 недели | 3868 руб. |
| N66883 | 550 | НЗ | 9000 | 2...4 недели | 4338 руб. |
| N66884 | 600 | НЗ | 9000 | 2...4 недели | 4338 руб. |
| N66885 | 650 | НЗ | 9000 | 2...4 недели | 4338 руб. |
| N66886 | 700 | НЗ | 9000 | 2...4 недели | 4338 руб. |
| N66887 | 750 | НЗ | 9000 | 2...4 недели | 4338 руб. |
| N66888 | 800 | НЗ | 9000 | 2...4 недели | 4338 руб. |
| N66889 | 850 | НЗ | 9000 | 2...4 недели | 4338 руб. |
| N66890 | 900 | НЗ | 9000 | 2...4 недели | 4338 руб. |
| N66891 | 950 | НЗ | 9000 | 2...4 недели | 4338 руб. |
| N66892 | 1000 | НЗ | 9000 | 2...4 недели | 4338 руб. |
| N66893 | 100 | НО | 10000 | 2...4 недели | 4035 руб. |
| N66894 | 150 | НО | 10000 | 2...4 недели | 4035 руб. |
| N66895 | 200 | НО | 10000 | 2...4 недели | 4035 руб. |
| N66896 | 250 | НО | 10000 | 2...4 недели | 4035 руб. |
| N66897 | 300 | НО | 10000 | 2...4 недели | 4035 руб. |
| N66898 | 350 | НО | 10000 | 2...4 недели | 4035 руб. |
| N66899 | 400 | НО | 10000 | 2...4 недели | 4035 руб. |
| N66900 | 450 | НО | 10000 | 2...4 недели | 4035 руб. |
| N66901 | 500 | НО | 10000 | 2...4 недели | 4035 руб. |
| N66902 | 550 | НО | 10000 | 2...4 недели | 4505 руб. |
| N66903 | 600 | НО | 10000 | 2...4 недели | 4505 руб. |
| N66904 | 650 | НО | 10000 | 2...4 недели | 4505 руб. |
| N66905 | 700 | НО | 10000 | 2...4 недели | 4505 руб. |
| N66906 | 750 | НО | 10000 | 2...4 недели | 4505 руб. |
| N66907 | 800 | НО | 10000 | 2...4 недели | 4505 руб. |
| N66908 | 850 | НО | 10000 | 2...4 недели | 4505 руб. |
| N66909 | 900 | НО | 10000 | 2...4 недели | 4505 руб. |
| N66910 | 950 | НО | 10000 | 2...4 недели | 4505 руб. |
| N66911 | 1000 | НО | 10000 | 2...4 недели | 4505 руб. |
| N66912 | 100 | НЗ | 10000 | 2...4 недели | 4035 руб. |
| N66913 | 150 | НЗ | 10000 | 2...4 недели | 4035 руб. |
| N66914 | 200 | НЗ | 10000 | 2...4 недели | 4035 руб. |
| N66915 | 250 | НЗ | 10000 | 2...4 недели | 4035 руб. |
| N66916 | 300 | НЗ | 10000 | 2...4 недели | 4035 руб. |
| N66917 | 350 | НЗ | 10000 | 2...4 недели | 4035 руб. |
| N66918 | 400 | НЗ | 10000 | 2...4 недели | 4035 руб. |
| N66919 | 450 | НЗ | 10000 | 2...4 недели | 4035 руб. |
| N66920 | 500 | НЗ | 10000 | 2...4 недели | 4035 руб. |
| N66921 | 550 | НЗ | 10000 | 2...4 недели | 4505 руб. |
| N66922 | 600 | НЗ | 10000 | 2...4 недели | 4505 руб. |
| N66923 | 650 | НЗ | 10000 | 2...4 недели | 4505 руб. |
| N66924 | 700 | НЗ | 10000 | 2...4 недели | 4505 руб. |
| N66925 | 750 | НЗ | 10000 | 2...4 недели | 4505 руб. |
| N66926 | 800 | НЗ | 10000 | 2...4 недели | 4505 руб. |
| N66927 | 850 | НЗ | 10000 | 2...4 недели | 4505 руб. |
| N66928 | 900 | НЗ | 10000 | 2...4 недели | 4505 руб. |
| N66929 | 950 | НЗ | 10000 | 2...4 недели | 4505 руб. |
| N66930 | 1000 | НЗ | 10000 | 2...4 недели | 4505 руб. |
| N66551 | 100 | НО | 1000 | 2...4 недели | 2532 руб. |
| N66552 | 150 | НО | 1000 | 2...4 недели | 2532 руб. |
| N66553 | 200 | НО | 1000 | 2...4 недели | 2532 руб. |
| N66554 | 250 | НО | 1000 | 2...4 недели | 2532 руб. |
| N66555 | 300 | НО | 1000 | 2...4 недели | 2532 руб. |
| N66556 | 350 | НО | 1000 | 2...4 недели | 2532 руб. |
| N66557 | 400 | НО | 1000 | 2...4 недели | 2532 руб. |
| N66558 | 450 | НО | 1000 | 2...4 недели | 2532 руб. |
| N66559 | 500 | НО | 1000 | 2...4 недели | 2532 руб. |
| N66560 | 550 | НО | 1000 | 2...4 недели | 3002 руб. |
| N66561 | 600 | НО | 1000 | 2...4 недели | 3002 руб. |
| N66562 | 650 | НО | 1000 | 2...4 недели | 3002 руб. |
| N66563 | 700 | НО | 1000 | 2...4 недели | 3002 руб. |
| N66564 | 750 | НО | 1000 | 2...4 недели | 3002 руб. |
| N66565 | 800 | НО | 1000 | 2...4 недели | 3002 руб. |
| N66566 | 850 | НО | 1000 | 2...4 недели | 3002 руб. |
| N66567 | 900 | НО | 1000 | 2...4 недели | 3002 руб. |
| N66568 | 950 | НО | 1000 | 2...4 недели | 3002 руб. |
| N66569 | 1000 | НО | 1000 | 2...4 недели | 3002 руб. |
| N66570 | 100 | НЗ | 1000 | 2...4 недели | 2532 руб. |
| N66571 | 150 | НЗ | 1000 | 2...4 недели | 2532 руб. |
| N66572 | 200 | НЗ | 1000 | 2...4 недели | 2532 руб. |
| N66573 | 250 | НЗ | 1000 | 2...4 недели | 2532 руб. |
| N66574 | 300 | НЗ | 1000 | 2...4 недели | 2532 руб. |
| N66575 | 350 | НЗ | 1000 | 2...4 недели | 2532 руб. |
| N66576 | 400 | НЗ | 1000 | 2...4 недели | 2532 руб. |
| N66577 | 450 | НЗ | 1000 | 2...4 недели | 2532 руб. |
| N66578 | 500 | НЗ | 1000 | 2...4 недели | 2532 руб. |
| N66579 | 550 | НЗ | 1000 | 2...4 недели | 3002 руб. |
| N66580 | 600 | НЗ | 1000 | 2...4 недели | 3002 руб. |
| N66581 | 650 | НЗ | 1000 | 2...4 недели | 3002 руб. |
| N66582 | 700 | НЗ | 1000 | 2...4 недели | 3002 руб. |
| N66583 | 750 | НЗ | 1000 | 2...4 недели | 3002 руб. |
| N66584 | 800 | НЗ | 1000 | 2...4 недели | 3002 руб. |
| N66585 | 850 | НЗ | 1000 | 2...4 недели | 3002 руб. |
| N66586 | 900 | НЗ | 1000 | 2...4 недели | 3002 руб. |
| N66587 | 950 | НЗ | 1000 | 2...4 недели | 3002 руб. |
| N66588 | 1000 | НЗ | 1000 | 2...4 недели | 3002 руб. |
| N66589 | 100 | НО | 2000 | 2...4 недели | 2699 руб. |
| N66590 | 150 | НО | 2000 | 2...4 недели | 2699 руб. |
| N66591 | 200 | НО | 2000 | 2...4 недели | 2699 руб. |
| N66592 | 250 | НО | 2000 | 2...4 недели | 2699 руб. |
| N66593 | 300 | НО | 2000 | 2...4 недели | 2699 руб. |
| N66594 | 350 | НО | 2000 | 2...4 недели | 2699 руб. |
| N66595 | 400 | НО | 2000 | 2...4 недели | 2699 руб. |
| N66596 | 450 | НО | 2000 | 2...4 недели | 2699 руб. |
| N66597 | 500 | НО | 2000 | 2...4 недели | 2699 руб. |
| N66598 | 550 | НО | 2000 | 2...4 недели | 3169 руб. |
| N66599 | 600 | НО | 2000 | 2...4 недели | 3169 руб. |
| N66600 | 650 | НО | 2000 | 2...4 недели | 3169 руб. |
| N66601 | 700 | НО | 2000 | 2...4 недели | 3169 руб. |
| N66602 | 750 | НО | 2000 | 2...4 недели | 3169 руб. |
| N66603 | 800 | НО | 2000 | 2...4 недели | 3169 руб. |
| N66604 | 850 | НО | 2000 | 2...4 недели | 3169 руб. |
| N66605 | 900 | НО | 2000 | 2...4 недели | 3169 руб. |
| N66606 | 950 | НО | 2000 | 2...4 недели | 3169 руб. |
| N66607 | 1000 | НО | 2000 | 2...4 недели | 3169 руб. |
| N66608 | 100 | НЗ | 2000 | 2...4 недели | 2699 руб. |
| N66609 | 150 | НЗ | 2000 | 2...4 недели | 2699 руб. |
| N66610 | 200 | НЗ | 2000 | 2...4 недели | 2699 руб. |
| N66611 | 250 | НЗ | 2000 | 2...4 недели | 2699 руб. |
| N66612 | 300 | НЗ | 2000 | 2...4 недели | 2699 руб. |
| N66613 | 350 | НЗ | 2000 | 2...4 недели | 2699 руб. |
| N66614 | 400 | НЗ | 2000 | 2...4 недели | 2699 руб. |
| N66615 | 450 | НЗ | 2000 | 2...4 недели | 2699 руб. |
| N66616 | 500 | НЗ | 2000 | 2...4 недели | 2699 руб. |
| N66617 | 550 | НЗ | 2000 | 2...4 недели | 3169 руб. |
| N66618 | 600 | НЗ | 2000 | 2...4 недели | 3169 руб. |
| N66619 | 650 | НЗ | 2000 | 2...4 недели | 3169 руб. |
| N66620 | 700 | НЗ | 2000 | 2...4 недели | 3169 руб. |
| N66621 | 750 | НЗ | 2000 | 2...4 недели | 3169 руб. |
| N66622 | 800 | НЗ | 2000 | 2...4 недели | 3169 руб. |
| N66623 | 850 | НЗ | 2000 | 2...4 недели | 3169 руб. |
| N66624 | 900 | НЗ | 2000 | 2...4 недели | 3169 руб. |
| N66625 | 950 | НЗ | 2000 | 2...4 недели | 3169 руб. |
| N66626 | 1000 | НЗ | 2000 | 2...4 недели | 3169 руб. |
| N66627 | 100 | НО | 3000 | 2...4 недели | 2866 руб. |
| N66628 | 150 | НО | 3000 | 2...4 недели | 2866 руб. |
| N66629 | 200 | НО | 3000 | 2...4 недели | 2866 руб. |
| N66630 | 250 | НО | 3000 | 2...4 недели | 2866 руб. |
| N66631 | 300 | НО | 3000 | 2...4 недели | 2866 руб. |
| N66632 | 350 | НО | 3000 | 2...4 недели | 2866 руб. |
| N66633 | 400 | НО | 3000 | 2...4 недели | 2866 руб. |
| N66634 | 450 | НО | 3000 | 2...4 недели | 2866 руб. |
| N66635 | 500 | НО | 3000 | 2...4 недели | 2866 руб. |
| N66636 | 550 | НО | 3000 | 2...4 недели | 3336 руб. |
| N66637 | 600 | НО | 3000 | 2...4 недели | 3336 руб. |
| N66638 | 650 | НО | 3000 | 2...4 недели | 3336 руб. |
| N66639 | 700 | НО | 3000 | 2...4 недели | 3336 руб. |
| N66640 | 750 | НО | 3000 | 2...4 недели | 3336 руб. |
| N66641 | 800 | НО | 3000 | 2...4 недели | 3336 руб. |
| N66642 | 850 | НО | 3000 | 2...4 недели | 3336 руб. |
| N66643 | 900 | НО | 3000 | 2...4 недели | 3336 руб. |
| N66644 | 950 | НО | 3000 | 2...4 недели | 3336 руб. |
| N66645 | 1000 | НО | 3000 | 2...4 недели | 3336 руб. |
| N66646 | 100 | НЗ | 3000 | 2...4 недели | 2866 руб. |
| N66647 | 150 | НЗ | 3000 | 2...4 недели | 2866 руб. |
| N66648 | 200 | НЗ | 3000 | 2...4 недели | 2866 руб. |
| N66649 | 250 | НЗ | 3000 | 2...4 недели | 2866 руб. |
| N66650 | 300 | НЗ | 3000 | 2...4 недели | 2866 руб. |
| N66651 | 350 | НЗ | 3000 | 2...4 недели | 2866 руб. |
| N66652 | 400 | НЗ | 3000 | 2...4 недели | 2866 руб. |
| N66653 | 450 | НЗ | 3000 | 2...4 недели | 2866 руб. |
| N66654 | 500 | НЗ | 3000 | 2...4 недели | 2866 руб. |
| N66655 | 550 | НЗ | 3000 | 2...4 недели | 3336 руб. |
| N66656 | 600 | НЗ | 3000 | 2...4 недели | 3336 руб. |
| N66657 | 650 | НЗ | 3000 | 2...4 недели | 3336 руб. |
| N66658 | 700 | НЗ | 3000 | 2...4 недели | 3336 руб. |
| N66659 | 750 | НЗ | 3000 | 2...4 недели | 3336 руб. |
| N66660 | 800 | НЗ | 3000 | 2...4 недели | 3336 руб. |
| N66661 | 850 | НЗ | 3000 | 2...4 недели | 3336 руб. |
| N66662 | 900 | НЗ | 3000 | 2...4 недели | 3336 руб. |
| N66663 | 950 | НЗ | 3000 | 2...4 недели | 3336 руб. |
| N66664 | 1000 | НЗ | 3000 | 2...4 недели | 3336 руб. |
| N66665 | 100 | НО | 4000 | 2...4 недели | 3033 руб. |
| N66666 | 150 | НО | 4000 | 2...4 недели | 3033 руб. |
| N66667 | 200 | НО | 4000 | 2...4 недели | 3033 руб. |
| N66668 | 250 | НО | 4000 | 2...4 недели | 3033 руб. |
| N66669 | 300 | НО | 4000 | 2...4 недели | 3033 руб. |
| N66670 | 350 | НО | 4000 | 2...4 недели | 3033 руб. |
| N66671 | 400 | НО | 4000 | 2...4 недели | 3033 руб. |
| N66672 | 450 | НО | 4000 | 2...4 недели | 3033 руб. |
| N66673 | 500 | НО | 4000 | 2...4 недели | 3033 руб. |
| N66674 | 550 | НО | 4000 | 2...4 недели | 3503 руб. |
| N66675 | 600 | НО | 4000 | 2...4 недели | 3503 руб. |
| N66676 | 650 | НО | 4000 | 2...4 недели | 3503 руб. |
| N66677 | 700 | НО | 4000 | 2...4 недели | 3503 руб. |
| N66678 | 750 | НО | 4000 | 2...4 недели | 3503 руб. |
| N66679 | 800 | НО | 4000 | 2...4 недели | 3503 руб. |
| N66680 | 850 | НО | 4000 | 2...4 недели | 3503 руб. |
| N66681 | 900 | НО | 4000 | 2...4 недели | 3503 руб. |
| N66682 | 950 | НО | 4000 | 2...4 недели | 3503 руб. |
| N66683 | 1000 | НО | 4000 | 2...4 недели | 3503 руб. |
| N66684 | 100 | НЗ | 4000 | 2...4 недели | 3033 руб. |
| N66685 | 150 | НЗ | 4000 | 2...4 недели | 3033 руб. |
| N66686 | 200 | НЗ | 4000 | 2...4 недели | 3033 руб. |
| N66687 | 250 | НЗ | 4000 | 2...4 недели | 3033 руб. |
| N66688 | 300 | НЗ | 4000 | 2...4 недели | 3033 руб. |
| N66689 | 350 | НЗ | 4000 | 2...4 недели | 3033 руб. |
| N66690 | 400 | НЗ | 4000 | 2...4 недели | 3033 руб. |
| N66691 | 450 | НЗ | 4000 | 2...4 недели | 3033 руб. |
| N66692 | 500 | НЗ | 4000 | 2...4 недели | 3033 руб. |
| N66693 | 550 | НЗ | 4000 | 2...4 недели | 3503 руб. |
| N66694 | 600 | НЗ | 4000 | 2...4 недели | 3503 руб. |
| N66695 | 650 | НЗ | 4000 | 2...4 недели | 3503 руб. |
| N66696 | 700 | НЗ | 4000 | 2...4 недели | 3503 руб. |
| N66697 | 750 | НЗ | 4000 | 2...4 недели | 3503 руб. |
| N66698 | 800 | НЗ | 4000 | 2...4 недели | 3503 руб. |
| N66699 | 850 | НЗ | 4000 | 2...4 недели | 3503 руб. |
| N66700 | 900 | НЗ | 4000 | 2...4 недели | 3503 руб. |
| N66701 | 950 | НЗ | 4000 | 2...4 недели | 3503 руб. |
| N66702 | 1000 | НЗ | 4000 | 2...4 недели | 3503 руб. |
| N66703 | 100 | НО | 5000 | 2...4 недели | 3200 руб. |
| N66704 | 150 | НО | 5000 | 2...4 недели | 3200 руб. |
| N66705 | 200 | НО | 5000 | 2...4 недели | 3200 руб. |
| N66706 | 250 | НО | 5000 | 2...4 недели | 3200 руб. |
| N66707 | 300 | НО | 5000 | 2...4 недели | 3200 руб. |
| N66708 | 350 | НО | 5000 | 2...4 недели | 3200 руб. |
| N66709 | 400 | НО | 5000 | 2...4 недели | 3200 руб. |
| N66710 | 450 | НО | 5000 | 2...4 недели | 3200 руб. |
| N66711 | 500 | НО | 5000 | 2...4 недели | 3200 руб. |
| N66712 | 550 | НО | 5000 | 2...4 недели | 3670 руб. |
| N66713 | 600 | НО | 5000 | 2...4 недели | 3670 руб. |
| N66714 | 650 | НО | 5000 | 2...4 недели | 3670 руб. |
| N66715 | 700 | НО | 5000 | 2...4 недели | 3670 руб. |
| N66716 | 750 | НО | 5000 | 2...4 недели | 3670 руб. |
| N66717 | 800 | НО | 5000 | 2...4 недели | 3670 руб. |
| N66718 | 850 | НО | 5000 | 2...4 недели | 3670 руб. |
| N66719 | 900 | НО | 5000 | 2...4 недели | 3670 руб. |
| N66720 | 950 | НО | 5000 | 2...4 недели | 3670 руб. |
| N66721 | 1000 | НО | 5000 | 2...4 недели | 3670 руб. |
| N66722 | 100 | НЗ | 5000 | 2...4 недели | 3200 руб. |
| N66723 | 150 | НЗ | 5000 | 2...4 недели | 3200 руб. |
| N66724 | 200 | НЗ | 5000 | 2...4 недели | 3200 руб. |
| N66725 | 250 | НЗ | 5000 | 2...4 недели | 3200 руб. |
| N66726 | 300 | НЗ | 5000 | 2...4 недели | 3200 руб. |
| N66727 | 350 | НЗ | 5000 | 2...4 недели | 3200 руб. |
| N66728 | 400 | НЗ | 5000 | 2...4 недели | 3200 руб. |
| N66729 | 450 | НЗ | 5000 | 2...4 недели | 3200 руб. |
| N66730 | 500 | НЗ | 5000 | 2...4 недели | 3200 руб. |
| N66731 | 550 | НЗ | 5000 | 2...4 недели | 3670 руб. |
| N66732 | 600 | НЗ | 5000 | 2...4 недели | 3670 руб. |
| N66733 | 650 | НЗ | 5000 | 2...4 недели | 3670 руб. |
| N66734 | 700 | НЗ | 5000 | 2...4 недели | 3670 руб. |
| N66735 | 750 | НЗ | 5000 | 2...4 недели | 3670 руб. |
| N66736 | 800 | НЗ | 5000 | 2...4 недели | 3670 руб. |
| N66737 | 850 | НЗ | 5000 | 2...4 недели | 3670 руб. |
| N66738 | 900 | НЗ | 5000 | 2...4 недели | 3670 руб. |
| N66739 | 950 | НЗ | 5000 | 2...4 недели | 3670 руб. |
| N66740 | 1000 | НЗ | 5000 | 2...4 недели | 3670 руб. |
| N66741 | 100 | НО | 6000 | 2...4 недели | 3367 руб. |
| N66742 | 150 | НО | 6000 | 2...4 недели | 3367 руб. |
| N66743 | 200 | НО | 6000 | 2...4 недели | 3367 руб. |
| N66744 | 250 | НО | 6000 | 2...4 недели | 3367 руб. |
| N66745 | 300 | НО | 6000 | 2...4 недели | 3367 руб. |
| N66746 | 350 | НО | 6000 | 2...4 недели | 3367 руб. |
| N66747 | 400 | НО | 6000 | 2...4 недели | 3367 руб. |
| N66748 | 450 | НО | 6000 | 2...4 недели | 3367 руб. |
| N66749 | 500 | НО | 6000 | 2...4 недели | 3367 руб. |
| N66750 | 550 | НО | 6000 | 2...4 недели | 3837 руб. |
| N66751 | 600 | НО | 6000 | 2...4 недели | 3837 руб. |
| N66752 | 650 | НО | 6000 | 2...4 недели | 3837 руб. |
| N66753 | 700 | НО | 6000 | 2...4 недели | 3837 руб. |
| N66754 | 750 | НО | 6000 | 2...4 недели | 3837 руб. |
| N66755 | 800 | НО | 6000 | 2...4 недели | 3837 руб. |
| N66756 | 850 | НО | 6000 | 2...4 недели | 3837 руб. |
| N66757 | 900 | НО | 6000 | 2...4 недели | 3837 руб. |
| N66758 | 950 | НО | 6000 | 2...4 недели | 3837 руб. |
| N66759 | 1000 | НО | 6000 | 2...4 недели | 3837 руб. |
| N66760 | 100 | НЗ | 6000 | 2...4 недели | 3367 руб. |
| N66761 | 150 | НЗ | 6000 | 2...4 недели | 3367 руб. |
| N66762 | 200 | НЗ | 6000 | 2...4 недели | 3367 руб. |
| N66763 | 250 | НЗ | 6000 | 2...4 недели | 3367 руб. |
| N66764 | 300 | НЗ | 6000 | 2...4 недели | 3367 руб. |
| N66765 | 350 | НЗ | 6000 | 2...4 недели | 3367 руб. |
| N66766 | 400 | НЗ | 6000 | 2...4 недели | 3367 руб. |
| N66767 | 450 | НЗ | 6000 | 2...4 недели | 3367 руб. |
| N66768 | 500 | НЗ | 6000 | 2...4 недели | 3367 руб. |
| N66769 | 550 | НЗ | 6000 | 2...4 недели | 3837 руб. |
| N66770 | 600 | НЗ | 6000 | 2...4 недели | 3837 руб. |
| N66771 | 650 | НЗ | 6000 | 2...4 недели | 3837 руб. |
| N66772 | 700 | НЗ | 6000 | 2...4 недели | 3837 руб. |
| N66773 | 750 | НЗ | 6000 | 2...4 недели | 3837 руб. |
| N66774 | 800 | НЗ | 6000 | 2...4 недели | 3837 руб. |
| N66775 | 850 | НЗ | 6000 | 2...4 недели | 3837 руб. |
| N66776 | 900 | НЗ | 6000 | 2...4 недели | 3837 руб. |
| N66777 | 950 | НЗ | 6000 | 2...4 недели | 3837 руб. |
| N66778 | 1000 | НЗ | 6000 | 2...4 недели | 3837 руб. |
| N66779 | 100 | НО | 7000 | 2...4 недели | 3534 руб. |
| N66780 | 150 | НО | 7000 | 2...4 недели | 3534 руб. |
| N66781 | 200 | НО | 7000 | 2...4 недели | 3534 руб. |
| N66782 | 250 | НО | 7000 | 2...4 недели | 3534 руб. |
| N66783 | 300 | НО | 7000 | 2...4 недели | 3534 руб. |
| N66784 | 350 | НО | 7000 | 2...4 недели | 3534 руб. |
| N66785 | 400 | НО | 7000 | 2...4 недели | 3534 руб. |
| N66786 | 450 | НО | 7000 | 2...4 недели | 3534 руб. |
| N66787 | 500 | НО | 7000 | 2...4 недели | 3534 руб. |
| N66788 | 550 | НО | 7000 | 2...4 недели | 4004 руб. |
| N66789 | 600 | НО | 7000 | 2...4 недели | 4004 руб. |
| N66790 | 650 | НО | 7000 | 2...4 недели | 4004 руб. |
| N66791 | 700 | НО | 7000 | 2...4 недели | 4004 руб. |
| N66792 | 750 | НО | 7000 | 2...4 недели | 4004 руб. |
| N66793 | 800 | НО | 7000 | 2...4 недели | 4004 руб. |
| N66794 | 850 | НО | 7000 | 2...4 недели | 4004 руб. |
| N66795 | 900 | НО | 7000 | 2...4 недели | 4004 руб. |
| N66796 | 950 | НО | 7000 | 2...4 недели | 4004 руб. |
| N66797 | 1000 | НО | 7000 | 2...4 недели | 4004 руб. |
| N66798 | 100 | НЗ | 7000 | 2...4 недели | 3534 руб. |
| N66799 | 150 | НЗ | 7000 | 2...4 недели | 3534 руб. |
| N66800 | 200 | НЗ | 7000 | 2...4 недели | 3534 руб. |
| N66801 | 250 | НЗ | 7000 | 2...4 недели | 3534 руб. |
| N66802 | 300 | НЗ | 7000 | 2...4 недели | 3534 руб. |
| N66803 | 350 | НЗ | 7000 | 2...4 недели | 3534 руб. |
| N66804 | 400 | НЗ | 7000 | 2...4 недели | 3534 руб. |
| N66805 | 450 | НЗ | 7000 | 2...4 недели | 3534 руб. |
| N66806 | 500 | НЗ | 7000 | 2...4 недели | 3534 руб. |
| N66807 | 550 | НЗ | 7000 | 2...4 недели | 4004 руб. |
| N66808 | 600 | НЗ | 7000 | 2...4 недели | 4004 руб. |
| N66809 | 650 | НЗ | 7000 | 2...4 недели | 4004 руб. |
| N66810 | 700 | НЗ | 7000 | 2...4 недели | 4004 руб. |
| N66811 | 750 | НЗ | 7000 | 2...4 недели | 4004 руб. |
| N66812 | 800 | НЗ | 7000 | 2...4 недели | 4004 руб. |
| N66813 | 850 | НЗ | 7000 | 2...4 недели | 4004 руб. |
| N66814 | 900 | НЗ | 7000 | 2...4 недели | 4004 руб. |
| N66815 | 950 | НЗ | 7000 | 2...4 недели | 4004 руб. |
| N66816 | 1000 | НЗ | 7000 | 2...4 недели | 4004 руб. |
| N66817 | 100 | НО | 8000 | 2...4 недели | 3701 руб. |
| N66818 | 150 | НО | 8000 | 2...4 недели | 3701 руб. |
| N66819 | 200 | НО | 8000 | 2...4 недели | 3701 руб. |
| N66820 | 250 | НО | 8000 | 2...4 недели | 3701 руб. |
| N66821 | 300 | НО | 8000 | 2...4 недели | 3701 руб. |
| N66822 | 350 | НО | 8000 | 2...4 недели | 3701 руб. |
| N66823 | 400 | НО | 8000 | 2...4 недели | 3701 руб. |
| N66824 | 450 | НО | 8000 | 2...4 недели | 3701 руб. |
| N66825 | 500 | НО | 8000 | 2...4 недели | 3701 руб. |
| N66826 | 550 | НО | 8000 | 2...4 недели | 4171 руб. |
| N66827 | 600 | НО | 8000 | 2...4 недели | 4171 руб. |
| N66828 | 650 | НО | 8000 | 2...4 недели | 4171 руб. |
| N66829 | 700 | НО | 8000 | 2...4 недели | 4171 руб. |
| N66830 | 750 | НО | 8000 | 2...4 недели | 4171 руб. |
| N66831 | 800 | НО | 8000 | 2...4 недели | 4171 руб. |
| N66832 | 850 | НО | 8000 | 2...4 недели | 4171 руб. |
| N66833 | 900 | НО | 8000 | 2...4 недели | 4171 руб. |
| N66834 | 950 | НО | 8000 | 2...4 недели | 4171 руб. |
| N66835 | 1000 | НО | 8000 | 2...4 недели | 4171 руб. |
| N66836 | 100 | НЗ | 8000 | 2...4 недели | 3701 руб. |
| N66837 | 150 | НЗ | 8000 | 2...4 недели | 3701 руб. |
| N66838 | 200 | НЗ | 8000 | 2...4 недели | 3701 руб. |
| N66839 | 250 | НЗ | 8000 | 2...4 недели | 3701 руб. |
| N66840 | 300 | НЗ | 8000 | 2...4 недели | 3701 руб. |
| N66841 | 350 | НЗ | 8000 | 2...4 недели | 3701 руб. |
| N66842 | 400 | НЗ | 8000 | 2...4 недели | 3701 руб. |
| N66843 | 450 | НЗ | 8000 | 2...4 недели | 3701 руб. |
| N66844 | 500 | НЗ | 8000 | 2...4 недели | 3701 руб. |
| N66845 | 550 | НЗ | 8000 | 2...4 недели | 4171 руб. |
| N66846 | 600 | НЗ | 8000 | 2...4 недели | 4171 руб. |
| N66847 | 650 | НЗ | 8000 | 2...4 недели | 4171 руб. |
| N66848 | 700 | НЗ | 8000 | 2...4 недели | 4171 руб. |
| N66849 | 750 | НЗ | 8000 | 2...4 недели | 4171 руб. |
| N66850 | 800 | НЗ | 8000 | 2...4 недели | 4171 руб. |
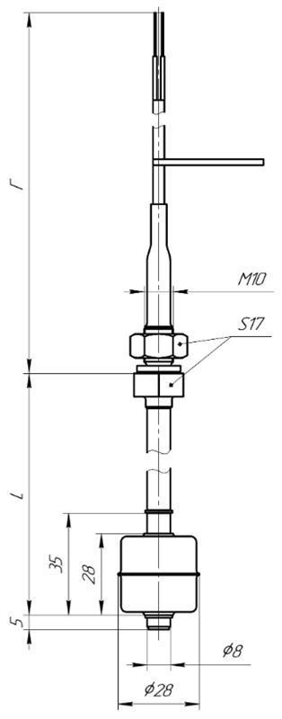
| Габаритные размеры |
![]() |
Обозначение при заказе
| Одноуровневые поплавковые датчики уровня ОВЕН ПДУ |
![]() |










