Ротационные датчики уровня РДУ
Ротационные (флажковые) датчики уровня серии РДУ предназначены для контроля предельного уровня сыпучих материалов. Основной функцией ротационных датчиков уровня является формирование дискретного управляющего сигнала при достижении контролируемым материалом необходимого уровня.
Особенности
- Регулировка чувствительности датчика при помощи изменения жесткости пружины, прижимающей эксцентриковую систему «электродвигатель-редуктор»
- Модификации для сред с повышенной температурой −20...+200°С или −20...+350°С
- Гибкое удлинение 1,1 м для лопасти (опция)
- Простой и быстрый монтаж
- Прочная конструкция
- Отсутствие необходимости в обслуживании
Принцип действия и область применения
В корпусе датчика установлен электродвигатель с редуктором. Вал датчика соединяется с выходным валом редуктора при помощи муфты. Соединительная муфта защищает редуктор от механического повреждения при принудительном повороте вала под действием внешних усилий.
Электродвигатель с редуктором образуют эксцентриковую систему, которая зафиксирована пружиной растяжения. Если лопасть датчика не соприкасается с сыпучим материалом, крутящий момент передается от двигателя к редуктору, а от редуктора к валу с лопастью.Как только лопасть соприкасается с сыпучим материалом, вал датчика останавливается, а эксцентриковая система «электродвигатель-редуктор», преодолевая сопротивление пружины, отключает питание электродвигателя и переключает выходной контакт датчика.
Как только лопасть датчика освобождается от сыпучего материала, эксцентриковая система «электродвигатель-редуктор» под действием пружины растяжения возвращается в исходное положение, освобождая микропереключатели. При этом возобновляется подача напряжения питания на электродвигатель, а выходной контакт датчика переключается в исходное состояние. После этого вал датчика с лопастью вновь начинает вращаться.
Ротационные датчики уровня широко применяются в пищевой, химической, горнодобывающей и зерноперерабатывающей отраслях промышленности для контроля уровня следующих материалов:
- сырья для производства изделий из ПВХ и ПЭТ (ПВХ-гранулята, ПЭТ-гранул);
- различных строительных материалов (цемента, гипса, готовых сухих смесей, песка, щебня);
- cыпучих пищевых продуктов (муки, сахара, крахмала);
- cельскохозяйственной продукции (зерновых культур, подсолнечника, комбикормов);
- древесные сыпучие материалы (опилки, стружка, пеллетные гранулы).
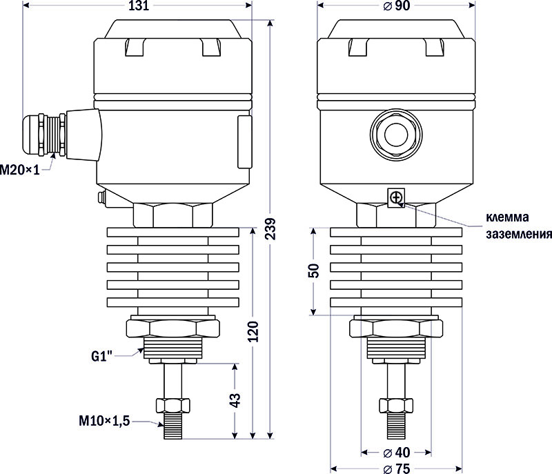
Для установки датчиков РДУ по месту эксплуатации используется бобышка БП-А-G1-30; для установки РДУ-121, РДУ-221, РДУ-321 также подходит бобышка БП-А-G1-100
Технические характеристики
| Параметр | Значение |
| Питание | ~220 В или =24 В |
| Мощность электродвигателя | 4 Вт |
| Крутящий момент электродвигателя | 0,98 Н∙м |
| Скорость вращения электродвигателя | 1 об./мин |
| Тип управляющего контакта | НО+НЗ |
| Коммутационная способность реле | ~5 А, 250 В |
| Степень пылевлагозащиты | IP65 |
| Температура хранения | −20...+125°С |
| Материал корпуса | силумин |
| Материал лопастей | нержавеющая сталь |
| Присоединение лопасти | М10×1,5 |
Модификации
| Модель | Присоединение | Шток | Температура рабочей среды, °С | Габаритные размеры, мм | Вес, г |
| РДУ-111 | G1" | Стандартный | −20...+80 | 189×90×131 | 1000 |
| РДУ-211 | G1" | Стандартный | −20...+200 | 239×90×131 | 1390 |
| РДУ-311 | G1" | Стандартный | −20...+350 | 288×90×125 | 1755 |
| РДУ-121 | G1" | Удлиненный | −20...+80 | 288×90×131 | 1540 |
| РДУ-221 | G1" | Удлиненный | −20...+200 | 339×90×131 | 1930 |
| РДУ-321 | G1" | Удлиненный | −20...+350 | 389×90×125 | 1938 |
| РДУ-112 | Фланцевое | Стандартный | −20...+80 | 189×155×163,5 | 1540 |
| РДУ-212 | Фланцевое | Стандартный | −20...+200 | 239×155×163,5 | 1930 |
| РДУ-312 | Фланцевое | Стандартный | −20...+350 | 288×155×163,5 | 2295 |
| РДУ-122 | Фланцевое | Удлиненный | −20...+80 | 288×155×163,5 | 2080 |
| РДУ-222 | Фланцевое | Удлиненный | −20...+200 | 339×155×163,5 | 2470 |
| РДУ-322 | Фланцевое | Удлиненный | −20...+350 | 389×155×163,5 | 2478 |
Расшифровка обозначения на примере датчика уровня РДУ-XYZ-WL-U:
X − температурное исполнение: 1 − стандартное, 2 − высокотемпературное до +200°С, 3 − высокотемпературное до +350°С.
Y − тип штока: 1 − стандартный, 2 − удлиненный в защитном кожухе.
Z − тип присоединения: 1 − резьбовое, 2 − фланцевое.
W − тип лопасти: Л1, Л2, Л3, Л4, Л5 или Л6.
L − Д1100, гибкое удлинение 1,1 м для лопасти (опция).
U − напряжение питания: 220 − ~220 В, 24 − 24 В.
Все модификации
| Артикул | Температура рабочей среды, °С | Шток | Присоединение | Напряжение, В | Тип лопасти | Гибкое удлинение | Срок поставки | Стоимость |
|---|---|---|---|---|---|---|---|---|
| O60175 | -20…+80 | Стандартный | G 1" | ~220 | Л1 | Нет | Со склада | 12180 руб. |
| O60319 | -20…+80 | Стандартный | G 1" | ~220 | Л1 | 1,1 м | Со склада (комплектация 1..72 часа) | 19590 руб. |
| O60199 | -20…+80 | Стандартный | G 1" | ~220 | Л2 | Нет | Со склада | 12180 руб. |
| O60343 | -20…+80 | Стандартный | G 1" | ~220 | Л2 | 1,1 м | Со склада (комплектация 1..72 часа) | 19590 руб. |
| O60223 | -20…+80 | Стандартный | G 1" | ~220 | Л3 | Нет | Со склада (комплектация 1..72 часа) | 12180 руб. |
| O60367 | -20…+80 | Стандартный | G 1" | ~220 | Л3 | 1,1 м | Со склада (комплектация 1..72 часа) | 19590 руб. |
| O60247 | -20…+80 | Стандартный | G 1" | ~220 | Л4 | Нет | Со склада | 12180 руб. |
| O60391 | -20…+80 | Стандартный | G 1" | ~220 | Л4 | 1,1 м | Со склада (комплектация 1..72 часа) | 19590 руб. |
| O60271 | -20…+80 | Стандартный | G 1" | ~220 | Л5 | Нет | Со склада (комплектация 1..72 часа) | 12960 руб. |
| O60415 | -20…+80 | Стандартный | G 1" | ~220 | Л5 | 1,1 м | Со склада (комплектация 1..72 часа) | 20370 руб. |
| O60295 | -20…+80 | Стандартный | G 1" | ~220 | Л6 | Нет | Со склада (комплектация 1..72 часа) | 12180 руб. |
| O60439 | -20…+80 | Стандартный | G 1" | ~220 | Л6 | 1,1 м | Со склада (комплектация 1..72 часа) | 19590 руб. |
| O60187 | -20…+80 | Стандартный | G 1" | =24 | Л1 | Нет | Со склада | 13533 руб. |
| O60331 | -20…+80 | Стандартный | G 1" | =24 | Л1 | 1,1 м | Со склада (комплектация 1..72 часа) | 20943 руб. |
| O60211 | -20…+80 | Стандартный | G 1" | =24 | Л2 | Нет | Со склада | 13533 руб. |
| O60355 | -20…+80 | Стандартный | G 1" | =24 | Л2 | 1,1 м | Со склада (комплектация 1..72 часа) | 20943 руб. |
| O60235 | -20…+80 | Стандартный | G 1" | =24 | Л3 | Нет | Со склада | 13533 руб. |
| O60379 | -20…+80 | Стандартный | G 1" | =24 | Л3 | 1,1 м | Со склада (комплектация 1..72 часа) | 20943 руб. |
| O60259 | -20…+80 | Стандартный | G 1" | =24 | Л4 | Нет | Со склада | 13533 руб. |
| O60403 | -20…+80 | Стандартный | G 1" | =24 | Л4 | 1,1 м | Со склада (комплектация 1..72 часа) | 20943 руб. |
| O60283 | -20…+80 | Стандартный | G 1" | =24 | Л5 | Нет | Со склада (комплектация 1..72 часа) | 14313 руб. |
| O60427 | -20…+80 | Стандартный | G 1" | =24 | Л5 | 1,1 м | Со склада (комплектация 1..72 часа) | 21723 руб. |
| O60307 | -20…+80 | Стандартный | G 1" | =24 | Л6 | Нет | Со склада (комплектация 1..72 часа) | 13533 руб. |
| O60451 | -20…+80 | Стандартный | G 1" | =24 | Л6 | 1,1 м | Со склада (комплектация 1..72 часа) | 20943 руб. |
| O60181 | -20…+80 | Стандартный | Фланцевое | ~220 | Л1 | Нет | Со склада | 14637 руб. |
| O60325 | -20…+80 | Стандартный | Фланцевое | ~220 | Л1 | 1,1 м | Со склада (комплектация 1..72 часа) | 22047 руб. |
| O60205 | -20…+80 | Стандартный | Фланцевое | ~220 | Л2 | Нет | Со склада | 14637 руб. |
| O60349 | -20…+80 | Стандартный | Фланцевое | ~220 | Л2 | 1,1 м | Со склада (комплектация 1..72 часа) | 22047 руб. |
| O60229 | -20…+80 | Стандартный | Фланцевое | ~220 | Л3 | Нет | Со склада | 14637 руб. |
| O60373 | -20…+80 | Стандартный | Фланцевое | ~220 | Л3 | 1,1 м | Со склада (комплектация 1..72 часа) | 22047 руб. |
| O60253 | -20…+80 | Стандартный | Фланцевое | ~220 | Л4 | Нет | Со склада (комплектация 1..72 часа) | 14637 руб. |
| O60397 | -20…+80 | Стандартный | Фланцевое | ~220 | Л4 | 1,1 м | Со склада (комплектация 1..72 часа) | 22047 руб. |
| O60277 | -20…+80 | Стандартный | Фланцевое | ~220 | Л5 | Нет | Со склада (комплектация 1..72 часа) | 15417 руб. |
| O60421 | -20…+80 | Стандартный | Фланцевое | ~220 | Л5 | 1,1 м | Со склада (комплектация 1..72 часа) | 22827 руб. |
| O60301 | -20…+80 | Стандартный | Фланцевое | ~220 | Л6 | Нет | Со склада (комплектация 1..72 часа) | 14637 руб. |
| O60445 | -20…+80 | Стандартный | Фланцевое | ~220 | Л6 | 1,1 м | Со склада (комплектация 1..72 часа) | 22047 руб. |
| O60193 | -20…+80 | Стандартный | Фланцевое | =24 | Л1 | Нет | Со склада (комплектация 1..72 часа) | 15990 руб. |
| O60337 | -20…+80 | Стандартный | Фланцевое | =24 | Л1 | 1,1 м | Со склада (комплектация 1..72 часа) | 23400 руб. |
| O60217 | -20…+80 | Стандартный | Фланцевое | =24 | Л2 | Нет | Со склада | 15990 руб. |
| O60361 | -20…+80 | Стандартный | Фланцевое | =24 | Л2 | 1,1 м | Со склада (комплектация 1..72 часа) | 23400 руб. |
| O60241 | -20…+80 | Стандартный | Фланцевое | =24 | Л3 | Нет | Со склада (комплектация 1..72 часа) | 15990 руб. |
| O60385 | -20…+80 | Стандартный | Фланцевое | =24 | Л3 | 1,1 м | Со склада (комплектация 1..72 часа) | 23400 руб. |
| O60265 | -20…+80 | Стандартный | Фланцевое | =24 | Л4 | Нет | Со склада (комплектация 1..72 часа) | 15990 руб. |
| O60409 | -20…+80 | Стандартный | Фланцевое | =24 | Л4 | 1,1 м | Со склада (комплектация 1..72 часа) | 23400 руб. |
| O60289 | -20…+80 | Стандартный | Фланцевое | =24 | Л5 | Нет | Со склада (комплектация 1..72 часа) | 16770 руб. |
| O60433 | -20…+80 | Стандартный | Фланцевое | =24 | Л5 | 1,1 м | Со склада (комплектация 1..72 часа) | 24180 руб. |
| O60313 | -20…+80 | Стандартный | Фланцевое | =24 | Л6 | Нет | Со склада (комплектация 1..72 часа) | 15990 руб. |
| O60457 | -20…+80 | Стандартный | Фланцевое | =24 | Л6 | 1,1 м | Со склада (комплектация 1..72 часа) | 23400 руб. |
| O60178 | -20…+80 | Удлиненный | G 1" | ~220 | Л1 | Нет | Со склада | 14313 руб. |
| O60322 | -20…+80 | Удлиненный | G 1" | ~220 | Л1 | 1,1 м | Со склада (комплектация 1..72 часа) | 21723 руб. |
| O60202 | -20…+80 | Удлиненный | G 1" | ~220 | Л2 | Нет | Со склада (комплектация 1..72 часа) | 14313 руб. |
| O60346 | -20…+80 | Удлиненный | G 1" | ~220 | Л2 | 1,1 м | Со склада (комплектация 1..72 часа) | 21723 руб. |
| O60226 | -20…+80 | Удлиненный | G 1" | ~220 | Л3 | Нет | Со склада (комплектация 1..72 часа) | 14313 руб. |
| O60370 | -20…+80 | Удлиненный | G 1" | ~220 | Л3 | 1,1 м | Со склада (комплектация 1..72 часа) | 21723 руб. |
| O60250 | -20…+80 | Удлиненный | G 1" | ~220 | Л4 | Нет | Со склада (комплектация 1..72 часа) | 14313 руб. |
| O60394 | -20…+80 | Удлиненный | G 1" | ~220 | Л4 | 1,1 м | Со склада (комплектация 1..72 часа) | 21723 руб. |
| O60274 | -20…+80 | Удлиненный | G 1" | ~220 | Л5 | Нет | Со склада | 15093 руб. |
| O60418 | -20…+80 | Удлиненный | G 1" | ~220 | Л5 | 1,1 м | Со склада (комплектация 1..72 часа) | 22503 руб. |
| O60298 | -20…+80 | Удлиненный | G 1" | ~220 | Л6 | Нет | Со склада (комплектация 1..72 часа) | 14313 руб. |
| O60442 | -20…+80 | Удлиненный | G 1" | ~220 | Л6 | 1,1 м | Со склада (комплектация 1..72 часа) | 21723 руб. |
| O60190 | -20…+80 | Удлиненный | G 1" | =24 | Л1 | Нет | Со склада (комплектация 1..72 часа) | 15444 руб. |
| O60334 | -20…+80 | Удлиненный | G 1" | =24 | Л1 | 1,1 м | Со склада (комплектация 1..72 часа) | 22854 руб. |
| O60214 | -20…+80 | Удлиненный | G 1" | =24 | Л2 | Нет | Со склада | 15444 руб. |
| O60358 | -20…+80 | Удлиненный | G 1" | =24 | Л2 | 1,1 м | Со склада (комплектация 1..72 часа) | 22854 руб. |
| O60238 | -20…+80 | Удлиненный | G 1" | =24 | Л3 | Нет | Со склада (комплектация 1..72 часа) | 15444 руб. |
| O60382 | -20…+80 | Удлиненный | G 1" | =24 | Л3 | 1,1 м | Со склада (комплектация 1..72 часа) | 22854 руб. |
| O60262 | -20…+80 | Удлиненный | G 1" | =24 | Л4 | Нет | Со склада (комплектация 1..72 часа) | 15444 руб. |
| O60406 | -20…+80 | Удлиненный | G 1" | =24 | Л4 | 1,1 м | Со склада (комплектация 1..72 часа) | 22854 руб. |
| O60286 | -20…+80 | Удлиненный | G 1" | =24 | Л5 | Нет | Со склада (комплектация 1..72 часа) | 16224 руб. |
| O60430 | -20…+80 | Удлиненный | G 1" | =24 | Л5 | 1,1 м | Со склада (комплектация 1..72 часа) | 23634 руб. |
| O60310 | -20…+80 | Удлиненный | G 1" | =24 | Л6 | Нет | Со склада (комплектация 1..72 часа) | 15444 руб. |
| O60454 | -20…+80 | Удлиненный | G 1" | =24 | Л6 | 1,1 м | Со склада (комплектация 1..72 часа) | 22854 руб. |
| O60184 | -20…+80 | Удлиненный | Фланцевое | ~220 | Л1 | Нет | Со склада (комплектация 1..72 часа) | 16770 руб. |
| O60328 | -20…+80 | Удлиненный | Фланцевое | ~220 | Л1 | 1,1 м | Со склада (комплектация 1..72 часа) | 24180 руб. |
| O60208 | -20…+80 | Удлиненный | Фланцевое | ~220 | Л2 | Нет | Со склада (комплектация 1..72 часа) | 16770 руб. |
| O60352 | -20…+80 | Удлиненный | Фланцевое | ~220 | Л2 | 1,1 м | Со склада (комплектация 1..72 часа) | 24180 руб. |
| O60232 | -20…+80 | Удлиненный | Фланцевое | ~220 | Л3 | Нет | Со склада (комплектация 1..72 часа) | 16770 руб. |
| O60376 | -20…+80 | Удлиненный | Фланцевое | ~220 | Л3 | 1,1 м | Со склада (комплектация 1..72 часа) | 24180 руб. |
| O60256 | -20…+80 | Удлиненный | Фланцевое | ~220 | Л4 | Нет | Со склада (комплектация 1..72 часа) | 16770 руб. |
| O60400 | -20…+80 | Удлиненный | Фланцевое | ~220 | Л4 | 1,1 м | Со склада (комплектация 1..72 часа) | 24180 руб. |
| O60280 | -20…+80 | Удлиненный | Фланцевое | ~220 | Л5 | Нет | Со склада (комплектация 1..72 часа) | 17550 руб. |
| O60424 | -20…+80 | Удлиненный | Фланцевое | ~220 | Л5 | 1,1 м | Со склада (комплектация 1..72 часа) | 24960 руб. |
| O60304 | -20…+80 | Удлиненный | Фланцевое | ~220 | Л6 | Нет | Со склада (комплектация 1..72 часа) | 16770 руб. |
| O60448 | -20…+80 | Удлиненный | Фланцевое | ~220 | Л6 | 1,1 м | Со склада (комплектация 1..72 часа) | 24180 руб. |
| O60196 | -20…+80 | Удлиненный | Фланцевое | =24 | Л1 | Нет | Со склада (комплектация 1..72 часа) | 17901 руб. |
| O60340 | -20…+80 | Удлиненный | Фланцевое | =24 | Л1 | 1,1 м | Со склада (комплектация 1..72 часа) | 25311 руб. |
| O60220 | -20…+80 | Удлиненный | Фланцевое | =24 | Л2 | Нет | Со склада (комплектация 1..72 часа) | 17901 руб. |
| O60364 | -20…+80 | Удлиненный | Фланцевое | =24 | Л2 | 1,1 м | Со склада (комплектация 1..72 часа) | 25311 руб. |
| O60244 | -20…+80 | Удлиненный | Фланцевое | =24 | Л3 | Нет | Со склада (комплектация 1..72 часа) | 17901 руб. |
| O60388 | -20…+80 | Удлиненный | Фланцевое | =24 | Л3 | 1,1 м | Со склада (комплектация 1..72 часа) | 25311 руб. |
| O60268 | -20…+80 | Удлиненный | Фланцевое | =24 | Л4 | Нет | Со склада (комплектация 1..72 часа) | 17901 руб. |
| O60412 | -20…+80 | Удлиненный | Фланцевое | =24 | Л4 | 1,1 м | Со склада (комплектация 1..72 часа) | 25311 руб. |
| O60292 | -20…+80 | Удлиненный | Фланцевое | =24 | Л5 | Нет | Со склада (комплектация 1..72 часа) | 18681 руб. |
| O60436 | -20…+80 | Удлиненный | Фланцевое | =24 | Л5 | 1,1 м | Со склада (комплектация 1..72 часа) | 26091 руб. |
| O60316 | -20…+80 | Удлиненный | Фланцевое | =24 | Л6 | Нет | Со склада (комплектация 1..72 часа) | 17901 руб. |
| O60460 | -20…+80 | Удлиненный | Фланцевое | =24 | Л6 | 1,1 м | Со склада (комплектация 1..72 часа) | 25311 руб. |
| O60176 | -20…+200 | Стандартный | G 1" | ~220 | Л1 | Нет | Ожидается 2025.08.10 | 17511 руб. |
| O60320 | -20…+200 | Стандартный | G 1" | ~220 | Л1 | 1,1 м | 120 дней | 24921 руб. |
| O60200 | -20…+200 | Стандартный | G 1" | ~220 | Л2 | Нет | Под заказ к 2025.09.13 | 17511 руб. |
| O60344 | -20…+200 | Стандартный | G 1" | ~220 | Л2 | 1,1 м | 120 дней | 24921 руб. |
| O60224 | -20…+200 | Стандартный | G 1" | ~220 | Л3 | Нет | Под заказ к 2025.09.13 | 17511 руб. |
| O60368 | -20…+200 | Стандартный | G 1" | ~220 | Л3 | 1,1 м | 120 дней | 24921 руб. |
| O60248 | -20…+200 | Стандартный | G 1" | ~220 | Л4 | Нет | Под заказ к 2025.09.13 | 17511 руб. |
| O60392 | -20…+200 | Стандартный | G 1" | ~220 | Л4 | 1,1 м | 120 дней | 24921 руб. |
| O60272 | -20…+200 | Стандартный | G 1" | ~220 | Л5 | Нет | Под заказ к 2027.07.30 | 18291 руб. |
| O60416 | -20…+200 | Стандартный | G 1" | ~220 | Л5 | 1,1 м | 120 дней | 25701 руб. |
| O60296 | -20…+200 | Стандартный | G 1" | ~220 | Л6 | Нет | 120 дней | 17511 руб. |
| O60440 | -20…+200 | Стандартный | G 1" | ~220 | Л6 | 1,1 м | 120 дней | 24921 руб. |
| O60188 | -20…+200 | Стандартный | G 1" | =24 | Л1 | Нет | Со склада (комплектация 1..72 часа) | 18837 руб. |
| O60332 | -20…+200 | Стандартный | G 1" | =24 | Л1 | 1,1 м | Со склада (комплектация 1..72 часа) | 26247 руб. |
| O60212 | -20…+200 | Стандартный | G 1" | =24 | Л2 | Нет | Со склада | 18837 руб. |
| O60356 | -20…+200 | Стандартный | G 1" | =24 | Л2 | 1,1 м | Со склада (комплектация 1..72 часа) | 26247 руб. |
| O60236 | -20…+200 | Стандартный | G 1" | =24 | Л3 | Нет | Со склада (комплектация 1..72 часа) | 18837 руб. |
| O60380 | -20…+200 | Стандартный | G 1" | =24 | Л3 | 1,1 м | Со склада (комплектация 1..72 часа) | 26247 руб. |
| O60260 | -20…+200 | Стандартный | G 1" | =24 | Л4 | Нет | Со склада (комплектация 1..72 часа) | 18837 руб. |
| O60404 | -20…+200 | Стандартный | G 1" | =24 | Л4 | 1,1 м | Со склада (комплектация 1..72 часа) | 26247 руб. |
| O60284 | -20…+200 | Стандартный | G 1" | =24 | Л5 | Нет | Со склада (комплектация 1..72 часа) | 19617 руб. |
| O60428 | -20…+200 | Стандартный | G 1" | =24 | Л5 | 1,1 м | Со склада (комплектация 1..72 часа) | 27027 руб. |
| O60308 | -20…+200 | Стандартный | G 1" | =24 | Л6 | Нет | Со склада (комплектация 1..72 часа) | 18837 руб. |
| O60452 | -20…+200 | Стандартный | G 1" | =24 | Л6 | 1,1 м | Со склада (комплектация 1..72 часа) | 26247 руб. |
| O60182 | -20…+200 | Стандартный | Фланцевое | ~220 | Л1 | Нет | 120 дней | 19968 руб. |
| O60326 | -20…+200 | Стандартный | Фланцевое | ~220 | Л1 | 1,1 м | 120 дней | 27378 руб. |
| O60206 | -20…+200 | Стандартный | Фланцевое | ~220 | Л2 | Нет | Под заказ к 2025.09.13 | 19968 руб. |
| O60350 | -20…+200 | Стандартный | Фланцевое | ~220 | Л2 | 1,1 м | 120 дней | 27378 руб. |
| O60230 | -20…+200 | Стандартный | Фланцевое | ~220 | Л3 | Нет | Под заказ к 2025.09.13 | 19968 руб. |
| O60374 | -20…+200 | Стандартный | Фланцевое | ~220 | Л3 | 1,1 м | 120 дней | 27378 руб. |
| O60254 | -20…+200 | Стандартный | Фланцевое | ~220 | Л4 | Нет | 120 дней | 19968 руб. |
| O60398 | -20…+200 | Стандартный | Фланцевое | ~220 | Л4 | 1,1 м | 120 дней | 27378 руб. |
| O60278 | -20…+200 | Стандартный | Фланцевое | ~220 | Л5 | Нет | 120 дней | 20748 руб. |
| O60422 | -20…+200 | Стандартный | Фланцевое | ~220 | Л5 | 1,1 м | 120 дней | 28158 руб. |
| O60302 | -20…+200 | Стандартный | Фланцевое | ~220 | Л6 | Нет | 120 дней | 19968 руб. |
| O60446 | -20…+200 | Стандартный | Фланцевое | ~220 | Л6 | 1,1 м | 120 дней | 27378 руб. |
| O60194 | -20…+200 | Стандартный | Фланцевое | =24 | Л1 | Нет | Со склада (комплектация 1..72 часа) | 21294 руб |
| O60338 | -20…+200 | Стандартный | Фланцевое | =24 | Л1 | 1,1 м | Со склада (комплектация 1..72 часа) | 28704 руб. |
| O60218 | -20…+200 | Стандартный | Фланцевое | =24 | Л2 | Нет | Со склада (комплектация 1..72 часа) | 21294 руб. |
| O60362 | -20…+200 | Стандартный | Фланцевое | =24 | Л2 | 1,1 м | Со склада (комплектация 1..72 часа) | 28704 руб. |
| O60242 | -20…+200 | Стандартный | Фланцевое | =24 | Л3 | Нет | Со склада (комплектация 1..72 часа) | 21294 руб. |
| O60386 | -20…+200 | Стандартный | Фланцевое | =24 | Л3 | 1,1 м | Со склада (комплектация 1..72 часа) | 28704 руб. |
| O60266 | -20…+200 | Стандартный | Фланцевое | =24 | Л4 | Нет | Со склада (комплектация 1..72 часа) | 21294 руб. |
| O60410 | -20…+200 | Стандартный | Фланцевое | =24 | Л4 | 1,1 м | Со склада (комплектация 1..72 часа) | 28704 руб. |
| O60290 | -20…+200 | Стандартный | Фланцевое | =24 | Л5 | Нет | Со склада (комплектация 1..72 часа) | 22074 руб. |
| O60434 | -20…+200 | Стандартный | Фланцевое | =24 | Л5 | 1,1 м | Со склада (комплектация 1..72 часа) | 29484 руб. |
| O60314 | -20…+200 | Стандартный | Фланцевое | =24 | Л6 | Нет | Со склада (комплектация 1..72 часа) | 21294 руб. |
| O60458 | -20…+200 | Стандартный | Фланцевое | =24 | Л6 | 1,1 м | Со склада (комплектация 1..72 часа) | 28704 руб. |
| O60179 | -20…+200 | Удлиненный | G 1" | ~220 | Л1 | Нет | Со склада (комплектация 1..72 часа) | 20853 руб. |
| O60323 | -20…+200 | Удлиненный | G 1" | ~220 | Л1 | 1,1 м | Со склада (комплектация 1..72 часа) | 28263 руб. |
| O60203 | -20…+200 | Удлиненный | G 1" | ~220 | Л2 | Нет | Со склада | 20853 руб. |
| O60347 | -20…+200 | Удлиненный | G 1" | ~220 | Л2 | 1,1 м | Со склада (комплектация 1..72 часа) | 28263 руб. |
| O60227 | -20…+200 | Удлиненный | G 1" | ~220 | Л3 | Нет | Со склада (комплектация 1..72 часа) | 20853 руб. |
| O60371 | -20…+200 | Удлиненный | G 1" | ~220 | Л3 | 1,1 м | Со склада (комплектация 1..72 часа) | 28263 руб. |
| O60251 | -20…+200 | Удлиненный | G 1" | ~220 | Л4 | Нет | Со склада | 20853 руб. |
| O60395 | -20…+200 | Удлиненный | G 1" | ~220 | Л4 | 1,1 м | Со склада (комплектация 1..72 часа) | 28263 руб. |
| O60275 | -20…+200 | Удлиненный | G 1" | ~220 | Л5 | Нет | Со склада | 21633 руб. |
| O60419 | -20…+200 | Удлиненный | G 1" | ~220 | Л5 | 1,1 м | Со склада (комплектация 1..72 часа) | 29043 руб. |
| O60299 | -20…+200 | Удлиненный | G 1" | ~220 | Л6 | Нет | Со склада (комплектация 1..72 часа) | 20853 руб. |
| O60443 | -20…+200 | Удлиненный | G 1" | ~220 | Л6 | 1,1 м | Со склада (комплектация 1..72 часа) | 28263 руб. |
| O60191 | -20…+200 | Удлиненный | G 1" | =24 | Л1 | Нет | Со склада (комплектация 1..72 часа) | 22230 руб. |
| O60335 | -20…+200 | Удлиненный | G 1" | =24 | Л1 | 1,1 м | Со склада (комплектация 1..72 часа) | 29640 руб. |
| O60215 | -20…+200 | Удлиненный | G 1" | =24 | Л2 | Нет | Со склада | 22230 руб. |
| O60359 | -20…+200 | Удлиненный | G 1" | =24 | Л2 | 1,1 м | Со склада (комплектация 1..72 часа) | 29640 руб. |
| O60239 | -20…+200 | Удлиненный | G 1" | =24 | Л3 | Нет | Со склада (комплектация 1..72 часа) | 22230 руб. |
| O60383 | -20…+200 | Удлиненный | G 1" | =24 | Л3 | 1,1 м | Со склада (комплектация 1..72 часа) | 29640 руб. |
| O60263 | -20…+200 | Удлиненный | G 1" | =24 | Л4 | Нет | Со склада | 22230 руб. |
| O60407 | -20…+200 | Удлиненный | G 1" | =24 | Л4 | 1,1 м | Со склада (комплектация 1..72 часа) | 29640 руб. |
| O60287 | -20…+200 | Удлиненный | G 1" | =24 | Л5 | Нет | Со склада | 23010 руб. |
| O60431 | -20…+200 | Удлиненный | G 1" | =24 | Л5 | 1,1 м | Со склада (комплектация 1..72 часа) | 30420 руб. |
| O60311 | -20…+200 | Удлиненный | G 1" | =24 | Л6 | Нет | Со склада (комплектация 1..72 часа) | 22230 руб. |
| O60455 | -20…+200 | Удлиненный | G 1" | =24 | Л6 | 1,1 м | Со склада (комплектация 1..72 часа) | 29640 руб. |
| O60185 | -20…+200 | Удлиненный | Фланцевое | ~220 | Л1 | Нет | Со склада (комплектация 1..72 часа) | 23310 руб. |
| O60329 | -20…+200 | Удлиненный | Фланцевое | ~220 | Л1 | 1,1 м | Со склада (комплектация 1..72 часа) | 30720 руб. |
| O60209 | -20…+200 | Удлиненный | Фланцевое | ~220 | Л2 | Нет | Со склада (комплектация 1..72 часа) | 23310 руб. |
| O60353 | -20…+200 | Удлиненный | Фланцевое | ~220 | Л2 | 1,1 м | Со склада (комплектация 1..72 часа) | 30720 руб. |
| O60233 | -20…+200 | Удлиненный | Фланцевое | ~220 | Л3 | Нет | Со склада (комплектация 1..72 часа) | 23310 руб. |
| O60377 | -20…+200 | Удлиненный | Фланцевое | ~220 | Л3 | 1,1 м | Со склада (комплектация 1..72 часа) | 30720 руб. |
| O60257 | -20…+200 | Удлиненный | Фланцевое | ~220 | Л4 | Нет | Со склада (комплектация 1..72 часа) | 23310 руб. |
| O60401 | -20…+200 | Удлиненный | Фланцевое | ~220 | Л4 | 1,1 м | Со склада (комплектация 1..72 часа) | 30720 руб. |
| O60281 | -20…+200 | Удлиненный | Фланцевое | ~220 | Л5 | Нет | Со склада (комплектация 1..72 часа) | 24090 руб. |
| O60425 | -20…+200 | Удлиненный | Фланцевое | ~220 | Л5 | 1,1 м | Со склада (комплектация 1..72 часа) | 31500 руб. |
| O60305 | -20…+200 | Удлиненный | Фланцевое | ~220 | Л6 | Нет | Со склада (комплектация 1..72 часа) | 23310 руб. |
| O60449 | -20…+200 | Удлиненный | Фланцевое | ~220 | Л6 | 1,1 м | Со склада (комплектация 1..72 часа) | 30720 руб. |
| O60197 | -20…+200 | Удлиненный | Фланцевое | =24 | Л1 | Нет | Со склада (комплектация 1..72 часа) | 24687 руб. |
| O60341 | -20…+200 | Удлиненный | Фланцевое | =24 | Л1 | 1,1 м | Со склада (комплектация 1..72 часа) | 32097 руб. |
| O60221 | -20…+200 | Удлиненный | Фланцевое | =24 | Л2 | Нет | Со склада (комплектация 1..72 часа) | 24687 руб. |
| O60365 | -20…+200 | Удлиненный | Фланцевое | =24 | Л2 | 1,1 м | Со склада (комплектация 1..72 часа) | 32097 руб. |
| O60245 | -20…+200 | Удлиненный | Фланцевое | =24 | Л3 | Нет | Со склада (комплектация 1..72 часа) | 24687 руб. |
| O60389 | -20…+200 | Удлиненный | Фланцевое | =24 | Л3 | 1,1 м | Со склада (комплектация 1..72 часа) | 32097 руб. |
| O60269 | -20…+200 | Удлиненный | Фланцевое | =24 | Л4 | Нет | Со склада (комплектация 1..72 часа) | 24687 руб. |
| O60413 | -20…+200 | Удлиненный | Фланцевое | =24 | Л4 | 1,1 м | Со склада (комплектация 1..72 часа) | 32097 руб. |
| O60293 | -20…+200 | Удлиненный | Фланцевое | =24 | Л5 | Нет | Со склада (комплектация 1..72 часа) | 25467 руб. |
| O60437 | -20…+200 | Удлиненный | Фланцевое | =24 | Л5 | 1,1 м | Со склада (комплектация 1..72 часа) | 32877 руб. |
| O60317 | -20…+200 | Удлиненный | Фланцевое | =24 | Л6 | Нет | Со склада (комплектация 1..72 часа) | 24687 руб. |
| O60461 | -20…+200 | Удлиненный | Фланцевое | =24 | Л6 | 1,1 м | Со склада (комплектация 1..72 часа) | 32097 руб. |
| O60177 | -20…+350 | Стандартный | G 1" | ~220 | Л1 | Нет | Со склада (комплектация 1..72 часа) | 22620 руб. |
| O60321 | -20…+350 | Стандартный | G 1" | ~220 | Л1 | 1,1 м | Со склада (комплектация 1..72 часа) | 30030 руб. |
| O60201 | -20…+350 | Стандартный | G 1" | ~220 | Л2 | Нет | Со склада | 22620 руб. |
| O60345 | -20…+350 | Стандартный | G 1" | ~220 | Л2 | 1,1 м | Со склада (комплектация 1..72 часа) | 30030 руб. |
| O60225 | -20…+350 | Стандартный | G 1" | ~220 | Л3 | Нет | Со склада (комплектация 1..72 часа) | 22620 руб. |
| O60369 | -20…+350 | Стандартный | G 1" | ~220 | Л3 | 1,1 м | Со склада (комплектация 1..72 часа) | 30030 руб. |
| O60249 | -20…+350 | Стандартный | G 1" | ~220 | Л4 | Нет | Со склада | 22620 руб. |
| O60393 | -20…+350 | Стандартный | G 1" | ~220 | Л4 | 1,1 м | Со склада (комплектация 1..72 часа) | 30030 руб. |
| O60273 | -20…+350 | Стандартный | G 1" | ~220 | Л5 | Нет | Со склада (комплектация 1..72 часа) | 23400 руб. |
| O60417 | -20…+350 | Стандартный | G 1" | ~220 | Л5 | 1,1 м | Со склада (комплектация 1..72 часа) | 30810 руб. |
| O60297 | -20…+350 | Стандартный | G 1" | ~220 | Л6 | Нет | Со склада (комплектация 1..72 часа) | 22620 руб. |
| O60441 | -20…+350 | Стандартный | G 1" | ~220 | Л6 | 1,1 м | Со склада (комплектация 1..72 часа) | 30030 руб. |
| O60189 | -20…+350 | Стандартный | G 1" | =24 | Л1 | Нет | Со склада (комплектация 1..72 часа) | 24960 руб. |
| O60333 | -20…+350 | Стандартный | G 1" | =24 | Л1 | 1,1 м | Со склада (комплектация 1..72 часа) | 32370 руб. |
| O60213 | -20…+350 | Стандартный | G 1" | =24 | Л2 | Нет | Со склада | 24960 руб. |
| O60357 | -20…+350 | Стандартный | G 1" | =24 | Л2 | 1,1 м | Со склада (комплектация 1..72 часа) | 32370 руб. |
| O60237 | -20…+350 | Стандартный | G 1" | =24 | Л3 | Нет | Со склада (комплектация 1..72 часа) | 24960 руб. |
| O60381 | -20…+350 | Стандартный | G 1" | =24 | Л3 | 1,1 м | Со склада (комплектация 1..72 часа) | 32370 руб. |
| O60261 | -20…+350 | Стандартный | G 1" | =24 | Л4 | Нет | Со склада | 24960 руб. |
| O60405 | -20…+350 | Стандартный | G 1" | =24 | Л4 | 1,1 м | Со склада (комплектация 1..72 часа) | 32370 руб. |
| O60285 | -20…+350 | Стандартный | G 1" | =24 | Л5 | Нет | Со склада (комплектация 1..72 часа) | 25740 руб. |
| O60429 | -20…+350 | Стандартный | G 1" | =24 | Л5 | 1,1 м | Со склада (комплектация 1..72 часа) | 33150 руб. |
| O60309 | -20…+350 | Стандартный | G 1" | =24 | Л6 | Нет | Со склада (комплектация 1..72 часа) | 24960 руб. |
| O60453 | -20…+350 | Стандартный | G 1" | =24 | Л6 | 1,1 м | Со склада (комплектация 1..72 часа) | 32370 руб. |
| O60183 | -20…+350 | Стандартный | Фланцевое | ~220 | Л1 | Нет | Со склада (комплектация 1..72 часа) | 25077 руб. |
| O60327 | -20…+350 | Стандартный | Фланцевое | ~220 | Л1 | 1,1 м | Со склада (комплектация 1..72 часа) | 32487 руб. |
| O60207 | -20…+350 | Стандартный | Фланцевое | ~220 | Л2 | Нет | Со склада (комплектация 1..72 часа) | 25077 руб. |
| O60351 | -20…+350 | Стандартный | Фланцевое | ~220 | Л2 | 1,1 м | Со склада (комплектация 1..72 часа) | 32487 руб. |
| O60231 | -20…+350 | Стандартный | Фланцевое | ~220 | Л3 | Нет | Со склада (комплектация 1..72 часа) | 25077 руб. |
| O60375 | -20…+350 | Стандартный | Фланцевое | ~220 | Л3 | 1,1 м | Со склада (комплектация 1..72 часа) | 32487 руб. |
| O60255 | -20…+350 | Стандартный | Фланцевое | ~220 | Л4 | Нет | Со склада (комплектация 1..72 часа) | 25077 руб. |
| O60399 | -20…+350 | Стандартный | Фланцевое | ~220 | Л4 | 1,1 м | Со склада (комплектация 1..72 часа) | 32487 руб. |
| O60279 | -20…+350 | Стандартный | Фланцевое | ~220 | Л5 | Нет | Со склада (комплектация 1..72 часа) | 25857 руб. |
| O60423 | -20…+350 | Стандартный | Фланцевое | ~220 | Л5 | 1,1 м | Со склада (комплектация 1..72 часа) | 33267 руб. |
| O60303 | -20…+350 | Стандартный | Фланцевое | ~220 | Л6 | Нет | Со склада (комплектация 1..72 часа) | 25077 руб. |
| O60447 | -20…+350 | Стандартный | Фланцевое | ~220 | Л6 | 1,1 м | Со склада (комплектация 1..72 часа) | 32487 руб. |
| O60195 | -20…+350 | Стандартный | Фланцевое | =24 | Л1 | Нет | Со склада (комплектация 1..72 часа) | 27417 руб. |
| O60339 | -20…+350 | Стандартный | Фланцевое | =24 | Л1 | 1,1 м | Со склада (комплектация 1..72 часа) | 34827 руб. |
| O60219 | -20…+350 | Стандартный | Фланцевое | =24 | Л2 | Нет | Со склада (комплектация 1..72 часа) | 27417 руб. |
| O60363 | -20…+350 | Стандартный | Фланцевое | =24 | Л2 | 1,1 м | Со склада (комплектация 1..72 часа) | 34827 руб. |
| O60243 | -20…+350 | Стандартный | Фланцевое | =24 | Л3 | Нет | Со склада (комплектация 1..72 часа) | 27417 руб. |
| O60387 | -20…+350 | Стандартный | Фланцевое | =24 | Л3 | 1,1 м | Со склада (комплектация 1..72 часа) | 34827 руб. |
| O60267 | -20…+350 | Стандартный | Фланцевое | =24 | Л4 | Нет | Со склада (комплектация 1..72 часа) | 27417 руб. |
| O60411 | -20…+350 | Стандартный | Фланцевое | =24 | Л4 | 1,1 м | Со склада (комплектация 1..72 часа) | 34827 руб. |
| O60291 | -20…+350 | Стандартный | Фланцевое | =24 | Л5 | Нет | Со склада (комплектация 1..72 часа) | 28197 руб. |
| O60435 | -20…+350 | Стандартный | Фланцевое | =24 | Л5 | 1,1 м | Со склада (комплектация 1..72 часа) | 35607 руб. |
| O60315 | -20…+350 | Стандартный | Фланцевое | =24 | Л6 | Нет | Со склада (комплектация 1..72 часа) | 27417 руб. |
| O60459 | -20…+350 | Стандартный | Фланцевое | =24 | Л6 | 1,1 м | Со склада (комплектация 1..72 часа) | 34827 руб. |
| O60180 | -20…+350 | Удлиненный | G 1" | ~220 | Л1 | Нет | Под заказ к 2025.09.13 | 26910 руб. |
| O60324 | -20…+350 | Удлиненный | G 1" | ~220 | Л1 | 1,1 м | Под заказ к 2025.09.13 | 34320 руб. |
| O60204 | -20…+350 | Удлиненный | G 1" | ~220 | Л2 | Нет | Под заказ к 2025.09.13 | 26910 руб. |
| O60348 | -20…+350 | Удлиненный | G 1" | ~220 | Л2 | 1,1 м | 120 дней | 34320 руб. |
| O60228 | -20…+350 | Удлиненный | G 1" | ~220 | Л3 | Нет | 120 дней | 26910 руб. |
| O60372 | -20…+350 | Удлиненный | G 1" | ~220 | Л3 | 1,1 м | 120 дней | 34320 руб. |
| O60252 | -20…+350 | Удлиненный | G 1" | ~220 | Л4 | Нет | Под заказ к 2025.09.13 | 26910 руб. |
| O60396 | -20…+350 | Удлиненный | G 1" | ~220 | Л4 | 1,1 м | 120 дней | 34320 руб. |
| O60276 | -20…+350 | Удлиненный | G 1" | ~220 | Л5 | Нет | 120 дней | 27690 руб. |
| O60420 | -20…+350 | Удлиненный | G 1" | ~220 | Л5 | 1,1 м | 120 дней | 35100 руб. |
| O60300 | -20…+350 | Удлиненный | G 1" | ~220 | Л6 | Нет | 120 дней | 26910 руб. |
| O60444 | -20…+350 | Удлиненный | G 1" | ~220 | Л6 | 1,1 м | 120 дней | 34320 руб. |
| O60192 | -20…+350 | Удлиненный | G 1" | =24 | Л1 | Нет | Со склада (комплектация 1..72 часа) | 28860 руб. |
| O60336 | -20…+350 | Удлиненный | G 1" | =24 | Л1 | 1,1 м | Со склада (комплектация 1..72 часа) | 36270 руб. |
| O60216 | -20…+350 | Удлиненный | G 1" | =24 | Л2 | Нет | Со склада | 28860 руб. |
| O60360 | -20…+350 | Удлиненный | G 1" | =24 | Л2 | 1,1 м | Со склада (комплектация 1..72 часа) | 36270 руб. |
| O60240 | -20…+350 | Удлиненный | G 1" | =24 | Л3 | Нет | Со склада (комплектация 1..72 часа) | 28860 руб. |
| O60384 | -20…+350 | Удлиненный | G 1" | =24 | Л3 | 1,1 м | Со склада (комплектация 1..72 часа) | 36270 руб. |
| O60264 | -20…+350 | Удлиненный | G 1" | =24 | Л4 | Нет | Со склада | 28860 руб. |
| O60408 | -20…+350 | Удлиненный | G 1" | =24 | Л4 | 1,1 м | Со склада (комплектация 1..72 часа) | 36270 руб. |
| O60288 | -20…+350 | Удлиненный | G 1" | =24 | Л5 | Нет | Со склада (комплектация 1..72 часа) | 29640 руб. |
| O60432 | -20…+350 | Удлиненный | G 1" | =24 | Л5 | 1,1 м | Со склада (комплектация 1..72 часа) | 37050 руб. |
| O60312 | -20…+350 | Удлиненный | G 1" | =24 | Л6 | Нет | Со склада (комплектация 1..72 часа) | 28860 руб. |
| O60456 | -20…+350 | Удлиненный | G 1" | =24 | Л6 | 1,1 м | Со склада (комплектация 1..72 часа) | 36270 руб. |
| O60186 | -20…+350 | Удлиненный | Фланцевое | ~220 | Л1 | Нет | Под заказ к 2025.09.13 | 29367 руб. |
| O60330 | -20…+350 | Удлиненный | Фланцевое | ~220 | Л1 | 1,1 м | 120 дней | 36777 руб. |
| O60210 | -20…+350 | Удлиненный | Фланцевое | ~220 | Л2 | Нет | 120 дней | 29367 руб. |
| O60354 | -20…+350 | Удлиненный | Фланцевое | ~220 | Л2 | 1,1 м | 120 дней | 36777 руб. |
| O60234 | -20…+350 | Удлиненный | Фланцевое | ~220 | Л3 | Нет | 120 дней | 29367 руб. |
| O60378 | -20…+350 | Удлиненный | Фланцевое | ~220 | Л3 | 1,1 м | 120 дней | 36777 руб. |
| O60258 | -20…+350 | Удлиненный | Фланцевое | ~220 | Л4 | Нет | 120 дней | 29367 руб. |
| O60402 | -20…+350 | Удлиненный | Фланцевое | ~220 | Л4 | 1,1 м | 120 дней | 36777 руб. |
| O60282 | -20…+350 | Удлиненный | Фланцевое | ~220 | Л5 | Нет | 120 дней | 30147 руб. |
| O60426 | -20…+350 | Удлиненный | Фланцевое | ~220 | Л5 | 1,1 м | 120 дней | 37557 руб. |
| O60306 | -20…+350 | Удлиненный | Фланцевое | ~220 | Л6 | Нет | 120 дней | 29367 руб. |
| O60450 | -20…+350 | Удлиненный | Фланцевое | ~220 | Л6 | 1,1 м | 120 дней | 36777 руб. |
| O60198 | -20…+350 | Удлиненный | Фланцевое | =24 | Л1 | Нет | Со склада (комплектация 1..72 часа) | 31317 руб. |
| O60342 | -20…+350 | Удлиненный | Фланцевое | =24 | Л1 | 1,1 м | Со склада (комплектация 1..72 часа) | 38727 руб. |
| O60222 | -20…+350 | Удлиненный | Фланцевое | =24 | Л2 | Нет | Со склада (комплектация 1..72 часа) | 31317 руб. |
| O60366 | -20…+350 | Удлиненный | Фланцевое | =24 | Л2 | 1,1 м | Со склада (комплектация 1..72 часа) | 38727 руб. |
| O60246 | -20…+350 | Удлиненный | Фланцевое | =24 | Л3 | Нет | Со склада (комплектация 1..72 часа) | 31317 руб. |
| O60390 | -20…+350 | Удлиненный | Фланцевое | =24 | Л3 | 1,1 м | Со склада (комплектация 1..72 часа) | 38727 руб. |
| O60270 | -20…+350 | Удлиненный | Фланцевое | =24 | Л4 | Нет | Со склада (комплектация 1..72 часа) | 31317 руб. |
| O60414 | -20…+350 | Удлиненный | Фланцевое | =24 | Л4 | 1,1 м | Со склада (комплектация 1..72 часа) | 38727 руб. |
| O60294 | -20…+350 | Удлиненный | Фланцевое | =24 | Л5 | Нет | Со склада (комплектация 1..72 часа) | 32097 руб. |
| O60438 | -20…+350 | Удлиненный | Фланцевое | =24 | Л5 | 1,1 м | Со склада (комплектация 1..72 часа) | 39507 руб. |
| O60318 | -20…+350 | Удлиненный | Фланцевое | =24 | Л6 | Нет | Со склада (комплектация 1..72 часа) | 31317 руб. |
| O60462 | -20…+350 | Удлиненный | Фланцевое | =24 | Л6 | 1,1 м | Со склада (комплектация 1..72 часа) | 38727 руб. |
| Габаритные размеры РДУ |
![]() |
| РДУ-111 |
![]() |
| РДУ-211 высокотемпературные до +200°С |
![]() |
| РДУ-311 высокотемпературные до +350°С |
![]() |
| РДУ-121 с удлиненным штоком в защитном кожухе |
![]() |
| РДУ-221 высокотемпературные до +200°С с удлиненным штоком в защитном кожухе |
![]() |
| РДУ-321 высокотемпературные до +350°С с удлиненным штоком в защитном кожухе |
![]() |
| Фланец |
| Габаритные размеры лопастей |
![]() |
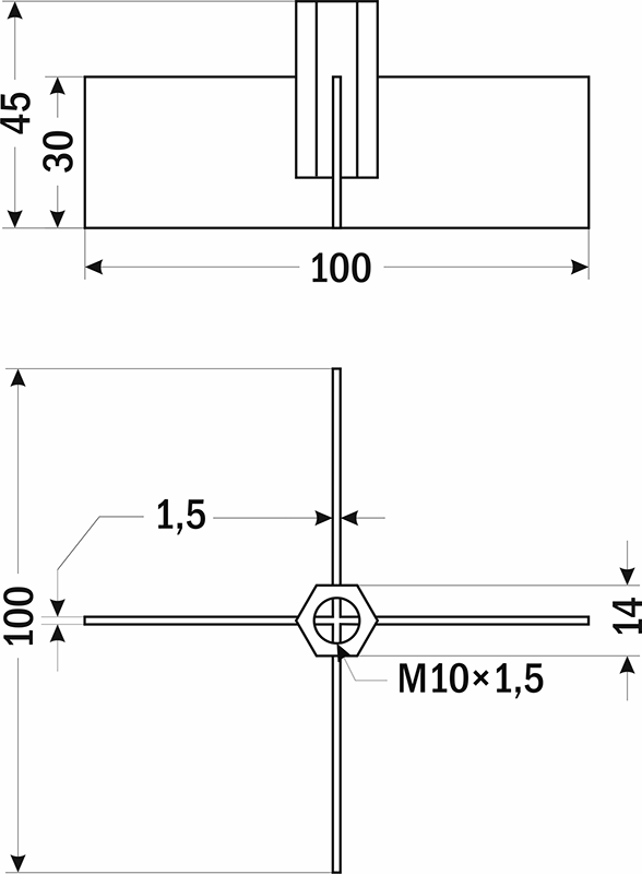
| Лопасть Л1 |
![]() |
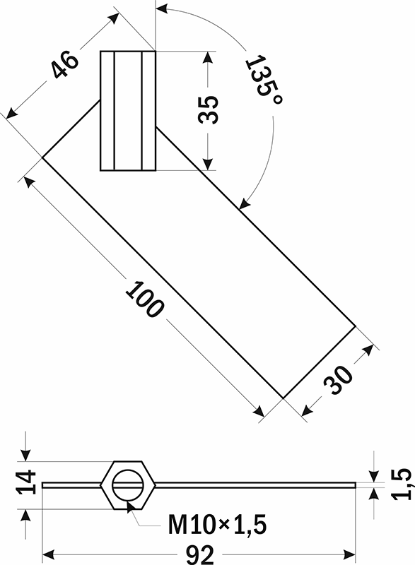
| Лопасть Л2 |
![]() |
| Лопасть Л3 |
![]() |
| Лопасть Л4 |
![]() |
| Лопасть Л5 |
![]() |
| Лопасть Л6 |
Документация и схемы
| Схема | Размер | Файл |
| Схема применения | 0.03 Мб | ![]() |
| Документ | Дата изменения | Размер | Файл |
| Руководство по эксплуатации | 04.11.2024 | 1.33 Мб | ![]() |




















